記得那個可以折疊成登機箱的速克達 Honda MotoCompo 嗎?它輕巧、靈活,讓人過目難忘!可愛的造型從推出至今深受大眾喜愛,電動版 MotoCompacto 更讓這款經典車款煥然一新。不過,MotoCompo 有個致命缺點 – 它只能乘坐一人,載朋友上街兜風就沒轍了。
別擔心! Honda 的工程師們聽到大家的呼聲了!根據 RideApart 披露的一份最新專利, Honda 正在研發解決方案。
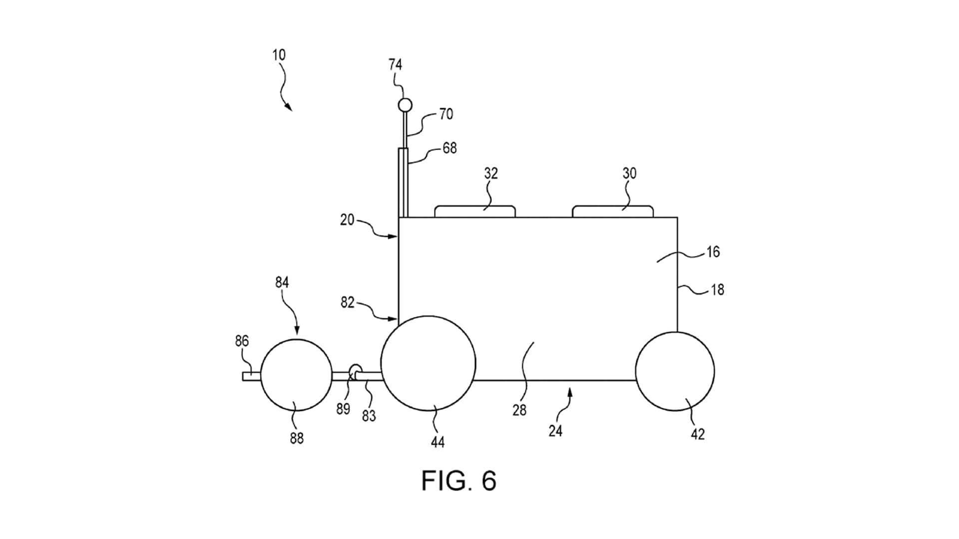
這份名為「移動裝置」的專利描述了一款放大版的 MotoCompacto,擁有兩個座位和四個輪子。乍看之下,你可能會疑惑,這不是我們熟悉的二輪電動速克達吧?但請耐心看下去,因為它的設計、科技和操控方式都與 MotoCompacto 大同小異。
更酷的是,它是專為父母設計的!
專利中提到:「許多父母希望帶孩子們在城市、市中心或大型購物區體驗不同的生活方式。主要的目的是讓家庭成員可以互動交流,並在市中心範圍內發掘更多意想不到的目的地,增進親子關係和豐富城市文化體驗。
基於這個理念, Honda 設計了這款趣味十足的「家庭用」機車。從專利圖紙中可以看到,這款車擁有兩個座位和三個把手。前兩個把手連接車身,方便乘客握持;第三個把手位於後座的後方,用於控制車輛。
專利也提到,在城市裡開車停車很貴,大眾運輸大多只能到達特定地點。而 Honda 的解決方案是:減少等待交通工具的時間,避免孩子步行長距離;「移動裝置」追求緊湊的設計,可以收納於公共交通工具內,並配有電力輔助馬達,讓全家在城市裡暢遊。
換句話說,如果你有兩個孩子,想去公園玩又不想走路,而且不要開車的話,這款四輪電動 MotoCompacto 就是你的完美選擇!
Honda 的想法確實很有創意的!這款車不僅擁有和 MotoCompacto 一樣可愛的外型,還具備額外的功能 – 座椅下方的儲物空間、可透過把手繩索拖曳,甚至可以像可愛的小狗一樣自動跟隨。
目前,這還只是一份專利,尚未有任何量產的消息。不過,相信不久的將來, Honda 就會正式發表這款「四輪雙座版本的 MotoCompacto 」。它一定會成為全球許多父母和都會通勤族的新寵!







