隨著近年電控系統的成熟,不少車款都配備有先進的進退快排功能,但對於更講求舒適度和巡航性的車款來說,進退快排依舊無法真正的自手排系統,KAWASAKI近日曝光一組全新的電子變速系統專利圖,暗示未來KAWASAKI將有可能推出擁有更滑順自動變速功能的車款。
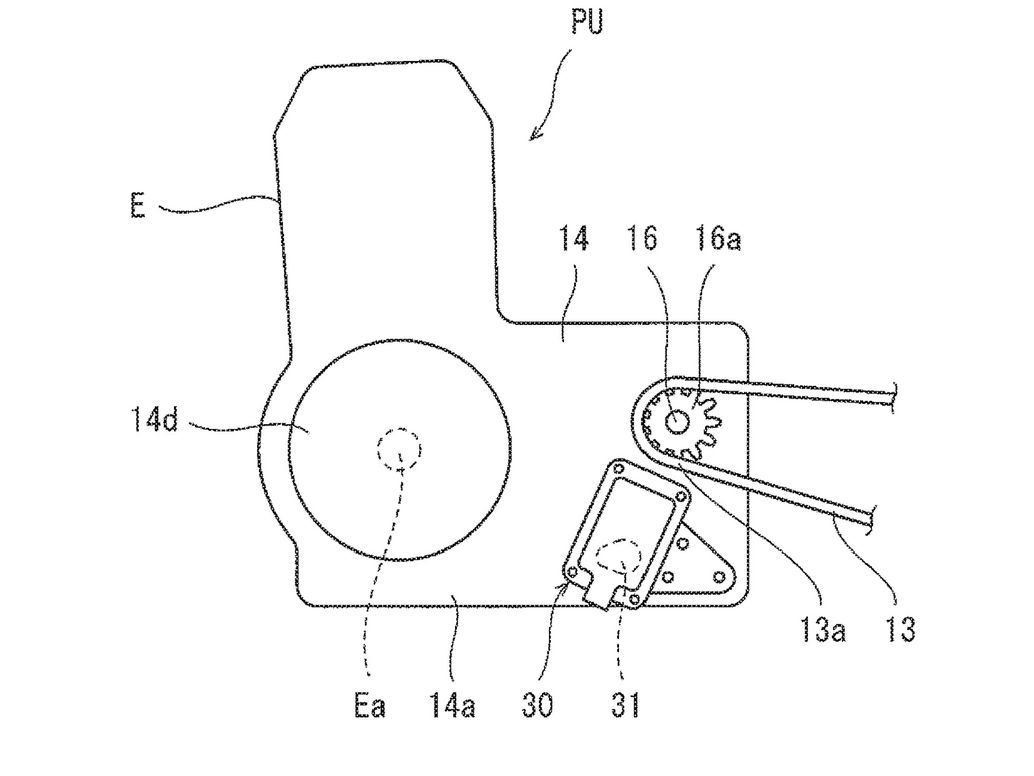
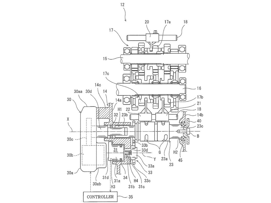
從專利圖上來看,KAWASAKI使用初代Ninja 1000SX作為專利展示車型,而這套電子變速系統也保留了原本的左腳打檔桿,但在變速箱內部則加入電子系統來輔助離合器的收放動作,給予類似進退快排的運作方式,但由於離合器是透過電腦控制、操作接合,因此這套系統將會比進退快排的頓挫感更小。
其實日系品牌在自動變速方面投入相當多的研究,像是HONDA有著DCT雙離合器變速系統、YAMAHA也曾發表過YCC-S電子離合器,而這次KAWASAKI曝光的專利看起來和YAMAHA的YCC-S較為類似;而與HONDA DCT相比,這樣的設計重量更輕,也保留了打檔騎乘的樂趣。
從專利圖上來看,KAWASAKI這套系統由於沿用了原本傳統的變速箱設計,僅在離合器部分額外加入電腦控制系統的裝置,因此可以直接沿用到絕大多數的現有車款上頭;對應先前KAWASAKI預告將要推出搭載ACC自動跟車系統車款,未來或許這套電子變速系統將會和ACC一起出現在Versys 1000、Ninja 1000SX、H2 SX等巡航風格車款上。
看到這套系統,就讓筆者想到先前試乘KTM 390 ADVENTURE時搭載的離心式離合器搭配進退快排的操作感受,但由於離心式離合器是透過機械構造達成“不用拉離合器換檔”的操作,在某些轉速下還是會有明顯的頓挫感;而KAWASAKI這套系統是由電腦來控制離合器的接合,究竟能做到什麼程度的換檔頓挫抑制,真的令人相當好奇!





