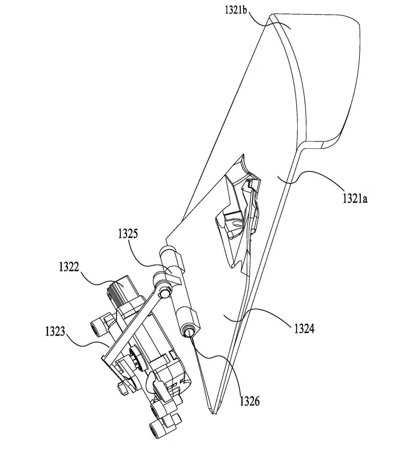
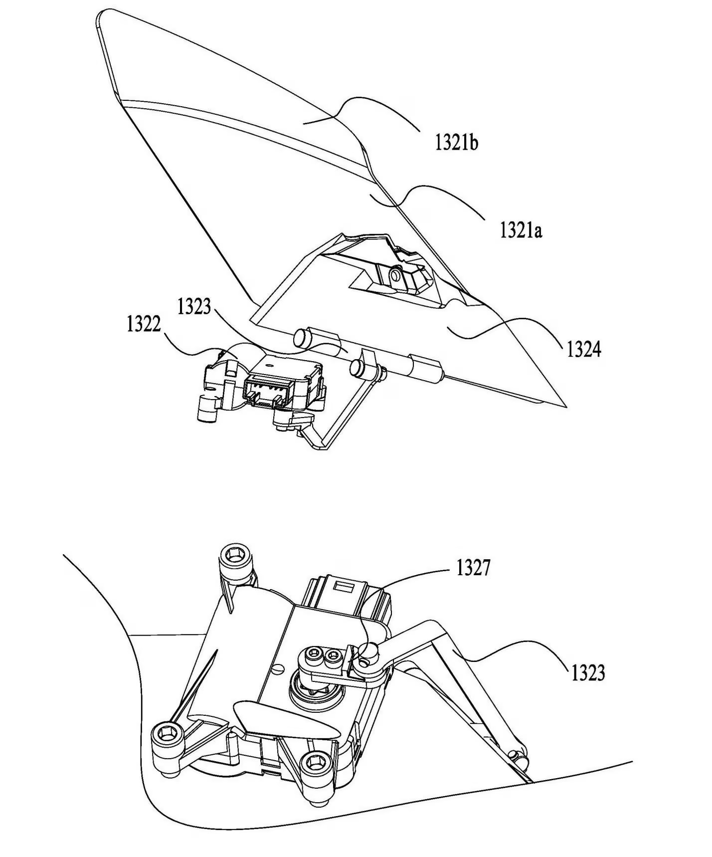
空力科技又要進入新世代?CFMoto 最近公開的一份專利,讓可動式定風翼(Active Winglets)這項汽車超跑界的定番配備,終於正式跨進摩托車世界。這不只是「會動的翼片」,而是會自動收合、視情況展開的主動空力系統。
根據專利說明,這套系統能在你慢速騎乘時將翼片隱藏起來,不影響外觀與實用性;但一旦進入 60~100 km/h 的巡航或激烈加速狀態,翼片就會自動彈出進入戰鬥模式,產生額外的下壓力,強化高速穩定性與過彎表現。不只功能強大,CFMoto 還考慮到實際應用的重量與耐用性:翼片可採碳纖維,內部驅動機構則是鋁或鈦合金材質,效能與質感一次到位。
其實我們早在 2023 年的 CFMoto Day 就悄悄看過這套系統的雛形。當時展出的 500SR 原型車就有一組可疑的側殼,看起來就像是翼片預留孔。雖然最新路試版本換上了固定式翼片,但真正要搭載這套「可動武器」的,很可能是正在醞釀中的公升級 V4 四缸旗艦超跑。想像一下,一台破 200 匹、具備主動空力套件的 CFMoto 超級跑車,會是中國品牌在超跑摩托車市場的突破口嗎?
雖然這是摩托車的新玩法,但對汽車迷來說其實並不陌生,如今各大超跑如 Bugatti、McLaren、Porsche都採用可收折、可調角度的主動式尾翼。如今,CFMoto 帶著這技術準備讓兩輪世界跟上潮流,看來未來的賽道與山路,會變得更加空力風暴。




