說到 HONDA 本田技研的靈魂,除了那讓人高潮的直列四缸 VTEC 之外,絕對不能不提 V4 引擎的輝煌歷史。從 1982 年一路傳承到 2020 年,那掛著 VF 或 VFR 名號的車款,始終代表著本田對於性能與技術的極致追求。雖然這幾年 V4 的消息總是只聞樓梯響,但在這個 2025 年的 12 月,外媒挖出了幾份相當具體的專利文件,看來本田這次不只是畫畫大餅,而是真的在為了新一代的 V4 猛獸做準備。
重點整理
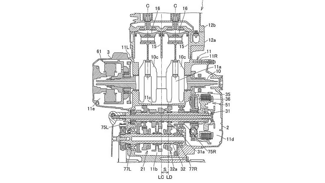
HONDA 註冊多項關於 V4 引擎的新專利,技術細節驚人。
新設計著重於減少機油泵浦摩擦力與針對後缸的散熱提升。
引擎體積比起舊款 VFR1200 更加緊湊輕量。
專利圖顯示配備平衡軸,且可能回歸 90 度夾角設定。
捨棄軸傳動改採鏈條傳動,運動性能可能大幅提升。
這次流出的專利並非單一零件,而是涵蓋了整體的動力架構,本田一口氣申請了超過兩項專利,其中最核心的技術在於全新的機油循環系統。這套系統經過特殊設計,能夠大幅降低機油泵浦內部的運轉阻力,意味著更少的動力流失。
此外,本田也展示了一種新的氣缸頭固定方式,雖然專利圖上很「狡猾」地用直列雙缸來示意,但明眼人都看得出來這其實是 V4 引擎的一半。另一項專利則聚焦在 V4 引擎最令人頭痛的散熱問題,透過 V 型夾角內的特殊管路設計,優先針對散熱較差的後方氣缸進行冷卻,這對於長時間騎乘的耐用度絕對是一大福音。
如果有接觸過上一代 VFR1200F 的車迷肯定印象深刻,那顆引擎雖然動力飽滿,但體積與重量也是「重量級」的,光是前氣缸之間的間隙就寬得嚇人。不過從這次的新專利圖來看,本田工程師似乎下定決心要讓它瘦身,引擎與變速箱的整體外殼看起來異常緊湊。這可能歸功於新的潤滑系統設計,透過在曲軸箱內設置小型的輔助儲油槽,來提升發電機、啟動盤、水泵浦和離合器的潤滑,進而縮短了油道的長度,讓整顆引擎結構更加紮實精簡。
至於大家最關心的引擎特性,也就是這顆 V4 到底是走什麼樣的點火風格?上一代 VFR1200 採用特殊的 76 度夾角搭配 28 度曲軸銷位移,創造出類似同軸點火的 Big Bang 獨特節奏,優點是不需要平衡軸。但這次的專利圖中,編號 26 的零件明確顯示為平衡軸,且氣缸夾角目測更接近經典的 90 度設定。
這意味著新引擎可能採用均等的點火間隔,也就是傳統的 Screamer 高頻聲浪,雖然需要平衡軸來抑制震動,但那種綿密高亢的運轉質感,與現在市面上 Aprilia 的 65 度 V4 或 Ducati 的 Twin Pulse 設定會有截然不同的聽覺享受。
最後一個值得注意的細節是傳動系統的改變。如果本田真的打算量產這顆引擎,未來的 VFR 可能會跟著名的單搖臂軸傳動說再見了。專利文件中明確指出了後輪採用鏈條驅動,雖然車廠有時候會在專利裡留一手,但在這個項目上本田似乎寫得很死。
這也暗示了新車款可能會更偏向運動化設定,而非純粹的休旅用途。至於我們什麼時候能看到實車?考慮到專利是在 2024 年 5 月申請、2025 年底公開,依照日本車廠謹慎的個性,恐怕還得再等個兩三年才有機會看到這台 V4 猛獸重返街頭,不過筆者身為末代 VFR800F RC79 的車主,看到這則消息真的是相當期待,即便從專利的細節來看,重生的 VFR 或許不再是跑旅車設定,但考量到 VFR 這車系本身就有濃厚的賽事血統,或許一台採用 V4 心臟的仿賽跑車重返車壇,會是更令人熱血沸騰的新篇章。







