近年來「免拉離合器」的技術在二輪界可謂遍地開花,從 Honda 傲視群雄的 DCT 到最近話題不斷的 E-Clutch,甚至是 BMW 與 KTM 紛紛推出的自動手排方案,車廠們顯然都想幫騎士省去左手的負擔,身為日系大廠的 Yamaha 自然不甘示弱,在推出了搭載於 MT-09 與 MT-07 的 Y-AMT 系統後,最新的專利文件顯示,這間車廠正打算將這套科技「降級」普及化,開發出一套構造更簡單、成本更低廉的簡化版系統,鎖定目標極有可能就是 MT-03 或 R3 等入門級距。
重點整理
單馬達配置: 捨棄現行 Y-AMT 的雙馬達設計,改用單一伺服馬達同時驅動離合器與換檔連桿。
連桿結構創新: 透過特殊設計的凸輪結構,讓換檔馬達在作動瞬間同步推動離合器頂桿。
結合離心式離合器: 針對起步與停等紅燈,採用類似速克達的離心結構來處理低速接合。
低成本高普及: 簡化零件數量與電控複雜度,讓入門車款也能配備半自動換檔功能。
從 FJR1300 到 Y-AMT:自動換檔的進化路徑
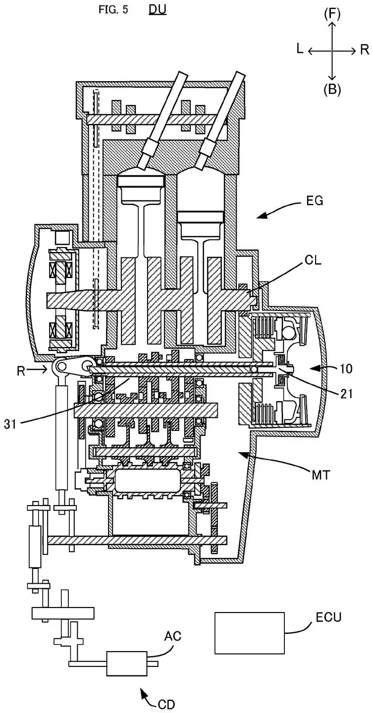
說起自動換檔,Yamaha 其實是這方面的先驅之一,早在 20 年前的 FJR1300AE 上,我們就看過名為 YCCS 的晶片控制換檔系統,當時也是利用電磁執行器來操作離合器與變速箱,現行的 Y-AMT 則是這套概念的現代進化版,透過兩顆獨立的馬達分別負責離合器與換檔,並提供全自動或手動按鈕換檔模式。
然而,現行 Y-AMT 雖然精準且快速,但兩顆馬達加上相對複雜的控制單元,對於售價敏感的入門車級距來說,成本壓力依然不小。這正是為何這份新專利的出現讓人眼睛一亮,Yamaha 顯然想到了更「精省」的招式。
單馬達挑大樑:用物理機械結構取代昂貴電控
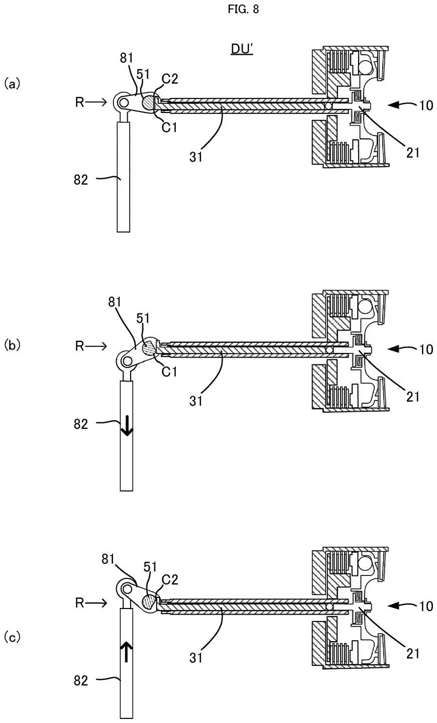
這套簡化版系統的核心邏輯非常理性且務實,Yamaha 工程師設計了一套聯動機構,將換檔撥桿與離合器驅動臂連結在一起,當伺服馬達推動換檔桿進行升降檔時,這個動作會同步透過一根連桿推動離合器頂桿,讓離合器暫時放開完成換檔。
為了確保無論升檔還是降檔都能正確操作離合器,Yamaha 在專利中展示了一種半圓形的平頭凸輪,這種設計讓換檔桿無論向上或向下移動,都能產生相同的推力來釋放離合器片;一旦換檔完成,桿位回到原點,離合器便會重新接合,這種「一魚雙吃」的做法,直接砍掉了一顆馬達與其配套的驅動電路。
慢速起步的解藥:離心式離合器的回歸
不過,單馬達聯動換檔雖然解決了行進間的動力銜接,但「起步」與「煞停」卻是個難題,因為單靠換檔馬達無法像傳統離合器那樣細膩地處理半離合起步,對此,Yamaha 給出的答案非常直覺:加入離心式離合器。
這套結構利用配重塊與彈簧,當引擎轉速提升時,配重塊受離心力甩出進而接合傳動;當怠速停車時則自動分離;這與最近 BMW 在 F 450 GS 概念車上展示的 ERC 系統邏輯異曲同工,換句話說,騎士在市區走走停停時,連換檔都不必管,轉油門就走,停下來也不會熄火,這對新手騎士來說簡直是福音。
未來展望:免換檔輕檔的新時代?
這套系統最聰明的地方在於它採取「外部掛載」的設計,換檔馬達安裝在變速箱上方,離合器部分也能基於現有零件進行修改,這意味著 Yamaha 不需要大費周章重新設計引擎本體,就能將這套技術下放到現有的 CP2 甚至是 CP3 以外的引擎平台上。
對於熱愛日系風格或是追求極致性感的 R 系列愛好者來說,純粹的手排換檔固然有其浪漫之處,但不可否認,在面對通勤地獄或是長時間長途騎乘時,能有一個專業、理性且反應迅速的半自動系統代勞,絕對是極具吸引力的選擇,若這套簡化版 Y-AMT 能如預期降低售價門檻,未來的 MT-03 或 R3 或許將成為市場上最具競爭力的科技入門首選。










