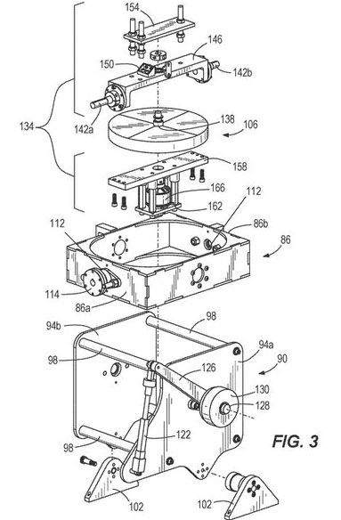
Harley-Davidson的巡航車款受不了不少車迷愛戴,但這種巡航車款往往車身都較長、車重也相當重。別說要騎在路上了,不少騎士光是看到他的外觀就連跨上去都不太敢。最近Harley-Davidson為了讓騎士在騎乘自家巡航車款不會備感壓力,向專利局申請了一套「自動平衡系統」(Self-Balancing)。
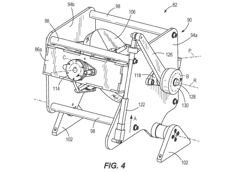
這套系統包含了一個安裝在穩定器上的飛輪,而且這個穩定器還可以在兩個軸數上旋轉,維持平衡。在高速騎乘過程中,要穩定住這種巡航車輛是相當容易的事情,所以這套系統主要就是在幫助騎士在低速騎乘時可以穩定車輛。
當車輛達到這套系統的必要速度之後,電腦就會自動旋轉車上的飛輪隨時為低速騎乘的平衡做準備。一旦自動平衡系統開啟,車內的執行器就會開始在軸上左右晃動,盡可能的讓極低速騎乘時倒車發生的機會降到最低。
有了這套系統,不僅可以降低騎士在等紅燈不小心或是路面不平的時候因為重心不穩而倒車的機率,還可以讓更多不敢接觸巡航車款的車友更有勇氣騎乘。這套系統未來正式發表後,除了讓騎士更安心的騎乘之外,說不定還能吸引更多消費者購買他們的車款,解救Harley-Davidson近幾年逐漸黯淡的銷售成績。


