過去幾年電動機車的發展相當迅速,而Honda在這個領域的表現並不是非常耀眼,當然他們還是有些許的進展,像是電動速克達以及換電系統的進步,不過在大型車款上面從2019年的CR Electric概念車之後似乎就沒有太多的消息,現在最新的專利顯示他們正在朝下一步發展。
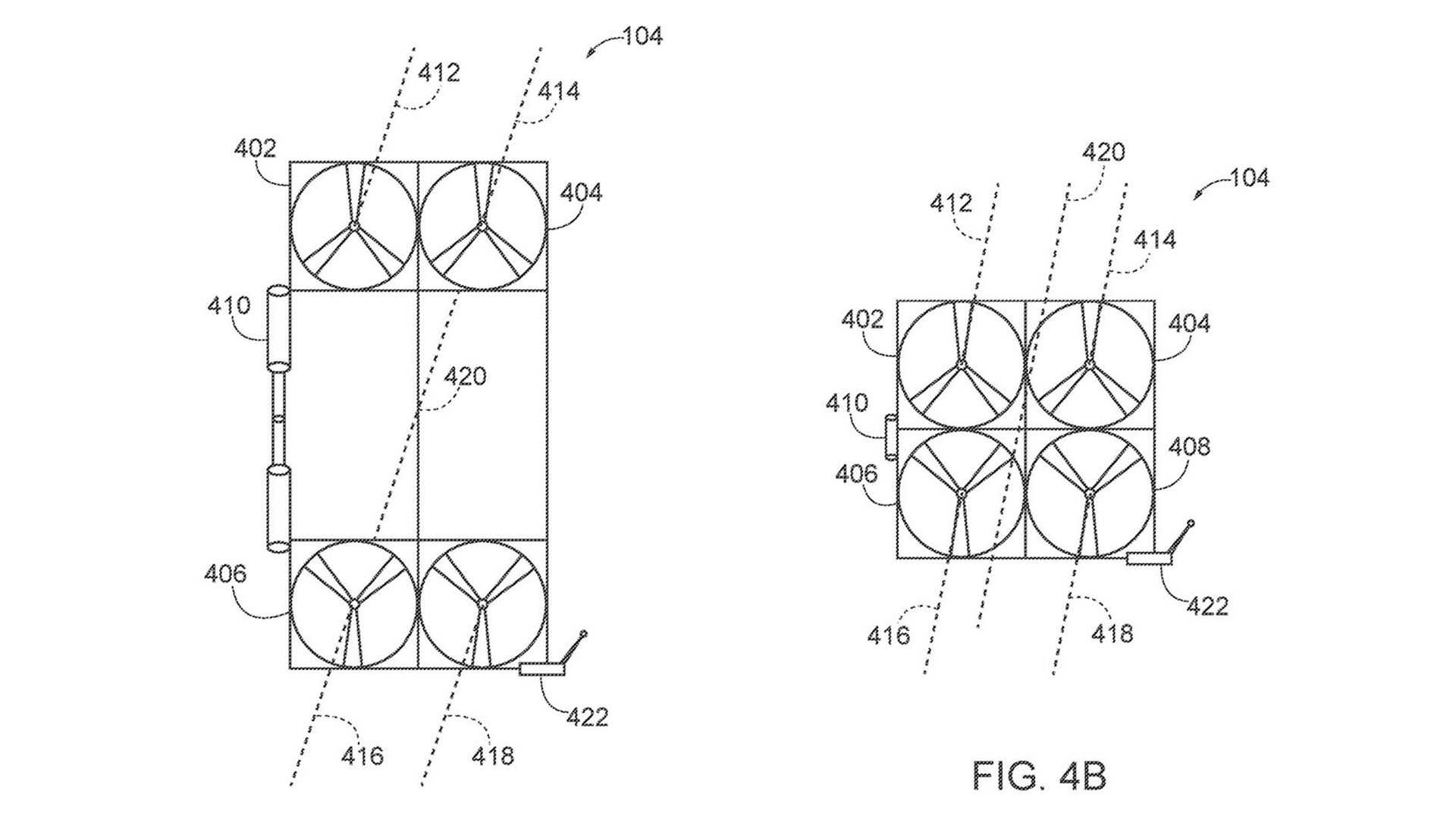
在新的專利當中並不是電動機車本體吸引著我們,而是他們搭配上了另一項新潮的科技產品-無人機,Honda將無人機安置於電動機車的後方,雖然並沒有詳細的文字說明這個無人機有怎麼樣的功能,但從專利文件上可以看出搭載於車上的四軸無人機擁有擴展功能,收起時可以安置在車尾,擴展後起飛將會提升實用性。
在無人機起飛過後,將很有可能與車輛連線,可以幫助騎士了解前方路況,或者很可能在緊急時刻幫助騎士聯絡,甚至是讓救援團隊於難以進入的區域先行使用無人機探勘或是用來運送緊急物資,另一方面也有人推測這項系統將可以幫助增強機車的自動駕駛科技,透過無人機的鏡頭更精準地判斷前方路況,讓自動駕駛可以更為安全。
而這句無人機停留在車尾時也不是裝飾用,其風扇可以轉化成抽風系統,幫助車輛的電動單元進行散熱,讓電動機車的散熱問題得到一些緩解,當然這一切都還只是在概念階段,真實的應用場景可能不如我們想像的這麼夢幻,無論如何我們相當期待Honda可以有更新穎的科技加諸在新的電動機車上頭。


