隨著科技發展,在機車上也搭載越來越多的電控,甚至主動安全系統,越變越複雜的操作介面也是不少人在騎乘時會遇到的困難之一,為了減少騎士在騎乘時因為需要操作電子配備而分心,BMW Motorrad準備著手開發機車用的手勢操作系統。
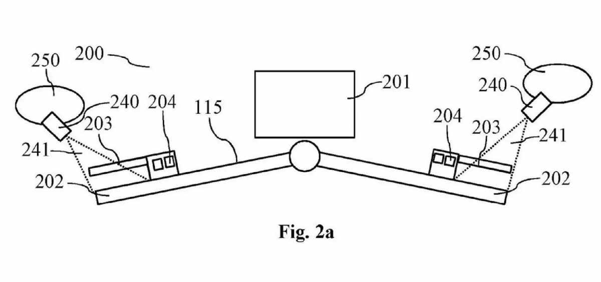
根據目前曝光的專利圖,BMW Motorrad打算透過在握把上安裝感測裝置,來偵測騎士的手部、手指動作,騎士將可以透過簡單的手勢或手指動作,來操作不同的車輛電子功能,像是連接藍芽耳機後的接聽電話、操作儀表介面、變更騎乘模式設定等。
目前手勢操作在汽車上也獲得相當廣泛的利用,甚至在不少高級車款上,例如Mercedes-Benz的S-Class上甚至具備攝影機能偵測駕駛動作進行主動預判的功能,像是駕駛向後轉頭就能自己開啟後窗遮陽簾。
未來如果手勢操作加入到機車上,或許類似的主動預判功能也能應用在機車上頭,例如騎士看向後照鏡並轉動握把時,車輛能主動開啟方向燈,減少忘記打方向燈造成的危險。
.jpg)

