HONDA在2019年推出CBR1000RR-R之後,原先期望這台三倍R能在WSBK賽場上展獲佳績,可惜的是CBR1000RR-R未能如預期在賽場上翻盤,HONDA也在不久前傳出可能推出更一敗的SP2版本來對應,近日外媒更挖出HONDA釋出的專利圖,從圖紙上來看HONDA準備端出更極端的新設計。
先講個壞消息,就是本次曝光的專利依舊沒有V4引擎的蹤影,但大家也不用急著離開,HONDA這次的專利圖還是很有看頭,本次專利圖主要的變革在於車架設計,HONDA採用近年主流的將引擎作為車架應力一部分,但整體運動將引擎作為車架的應用推向更極限。
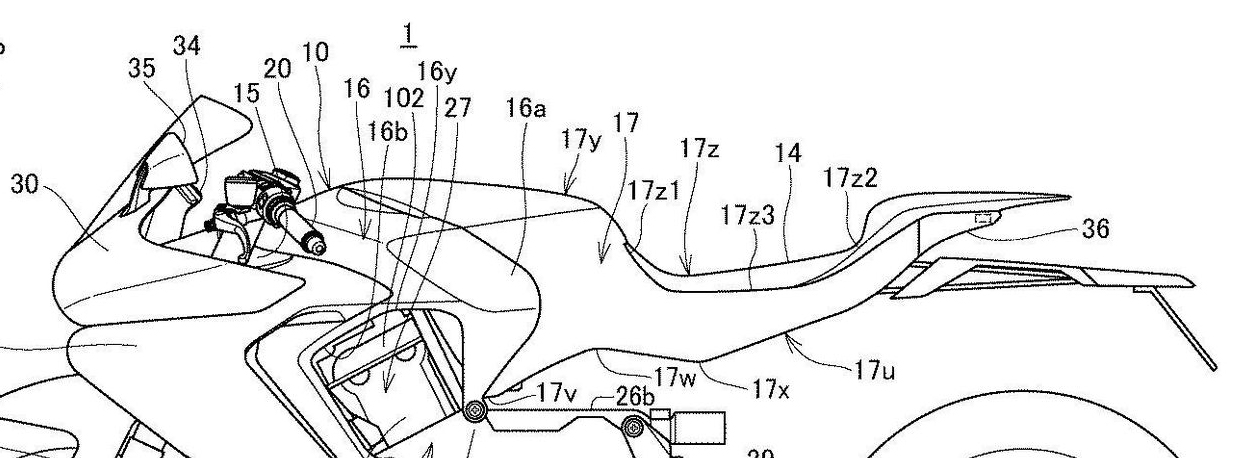
整個車架比現行CBR1000RR-R的體積更小,呈現一個C字型結構,專利表明車架將由鑄造合金來打造;引擎後方有另一段小的車架(18)來連結後搖臂和後避震,整體車架結構變得相當簡潔。
最令人驚訝的是主車架上方的油箱、坐墊以及副車台的部分,HONDA在專利圖上表示這三個部件將合三為一成為一體式單體部件,並使用碳纖維打造,透過螺栓固定在前車架上。
沒有副車台作為骨架的設計看起來很不可思議,也讓人懷疑是否會有支撐強度問題,但從減重效果來看,採用一體式的單體設計,確實能有效減輕整台車的重量並降低車輛重心。
專利圖也能看到其餘的部分細節,像是握把開關、儀表等等的佈局,其他的硬體配備上,目測與現行的CBR1000RR-R差異不大,應該會直接沿用現行品;HONDA在專利文件內也明確表示車輛減重效果是最大目標,有趣的是還提及了降低製造成本。
從曝光的專利圖來看,HONDA真的是使出看家本領想讓CBR1000RR-R獲得更強大的競爭力,確實面對目前WSBK賽場上KAWASAKI ZX-10RR、DUCATI V4R、YAMAHA YZF-R1等競爭對手,HONDA CBR1000RR-R的成績顯得有些不堪入目,就讓我們期待一下HONDA會不會在未來的車展上,亮相這台CBR1000RR-R酷炫的新設計吧!





