這幾個月以來BMW Motorrad可以說是動作頻頻,不僅在外國市場陸續推出包括M1000RR在內許多車型的改款及發售消息,在配件專利的領域更是不遺餘力,就像是近日,BMW提出了該公司的最新專利設計-可伸縮方向燈。
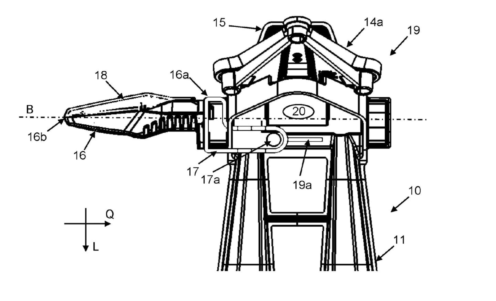
從專利圖上我們可以發現,這個所謂的新專利,是將原本固定在車牌架上的方向燈,增加了額外的收折機構,外觀上看起來與現有的BMW車型非常相似;而收折方向燈主要的目的,在於考量到極端的使用環境,包括了越野及賽道等,一旦發生轉倒,抑或是遇到林道中可能遇到的樹枝、石頭飛濺等可能損壞燈具的情境,能夠收折的方向燈就解決了這樣的問題,即便來到賽道,收折機構也能增加方便性,免除拆除牌架的複雜流程。
這次BMW Motorrad一共設計了兩種形式,第一種較為簡單的設計,是將方向燈支架的底部加入了手動轉軸機構,使其能夠向前轉動,並將它們夾在車牌支架旁邊的位置。並使用了一個防呆機制,需要在車牌完全拆下時,將排架上的撥桿機構(下方標記為19a)撥至「越野模式」,才能進行方向燈機構收折,能夠保證不在開放道路上誤將其置於折疊的位置。
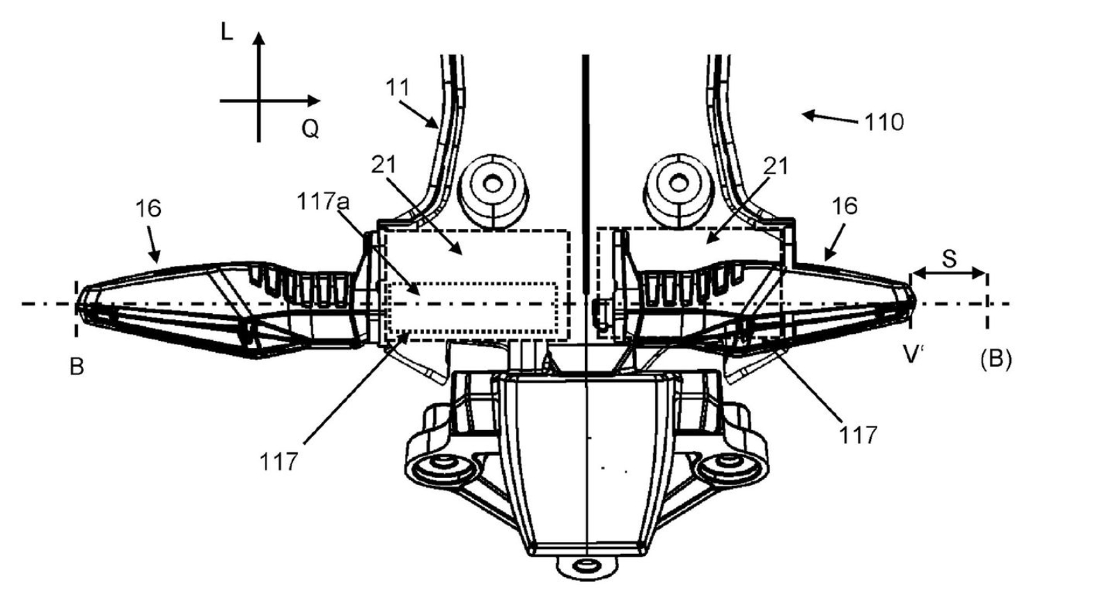
第二個版本具有可伸縮的方向燈機構,該機構可嵌入車牌支架內的套筒中,但還是會留下一小截的方向燈;這樣的設計還比起第一種具有潛在的優勢,因為在這個方案下,方向燈功能仍然可用,即便收起後可能會無法符合各國的道交法規,但卻能在方便性具備的同時兼顧防呆機制。
隨著BMW新車型不斷推出,外媒研判全新的方向燈設計,未來將會首先搭載於M 1000 RR、R 1300 GS 和 M 1300 GS等跑車或ADV車型上。
BMW認為,摩托車在特殊路況發生轉倒的可能更高,但拆除牌架卻需要使用工具,作為日常道路和特殊狀況交織使用的車輛而言,頻繁在公路和越野之間不斷拆裝是不切實際的;而可伸縮轉向的方向燈就可以輕鬆解決這樣的問題,我想這樣的設計若是能廣泛的應用,將會是檔車族的一大福音!





