我想身為居住在台灣都會地區的朋友們,應該對於U bike或是GO Share的服務十分熟悉,作為台灣共享經濟先驅,藉由密集的站點、方便的借還流程,已然成為學生與通勤族不可或缺的一部分,類似的設施也在世界各地取得不錯的商機;作為二輪界扛霸子的HONDA自然也嗅到了商機,於近日申請了多項關於電動摺疊單車與共享自行車的專利。
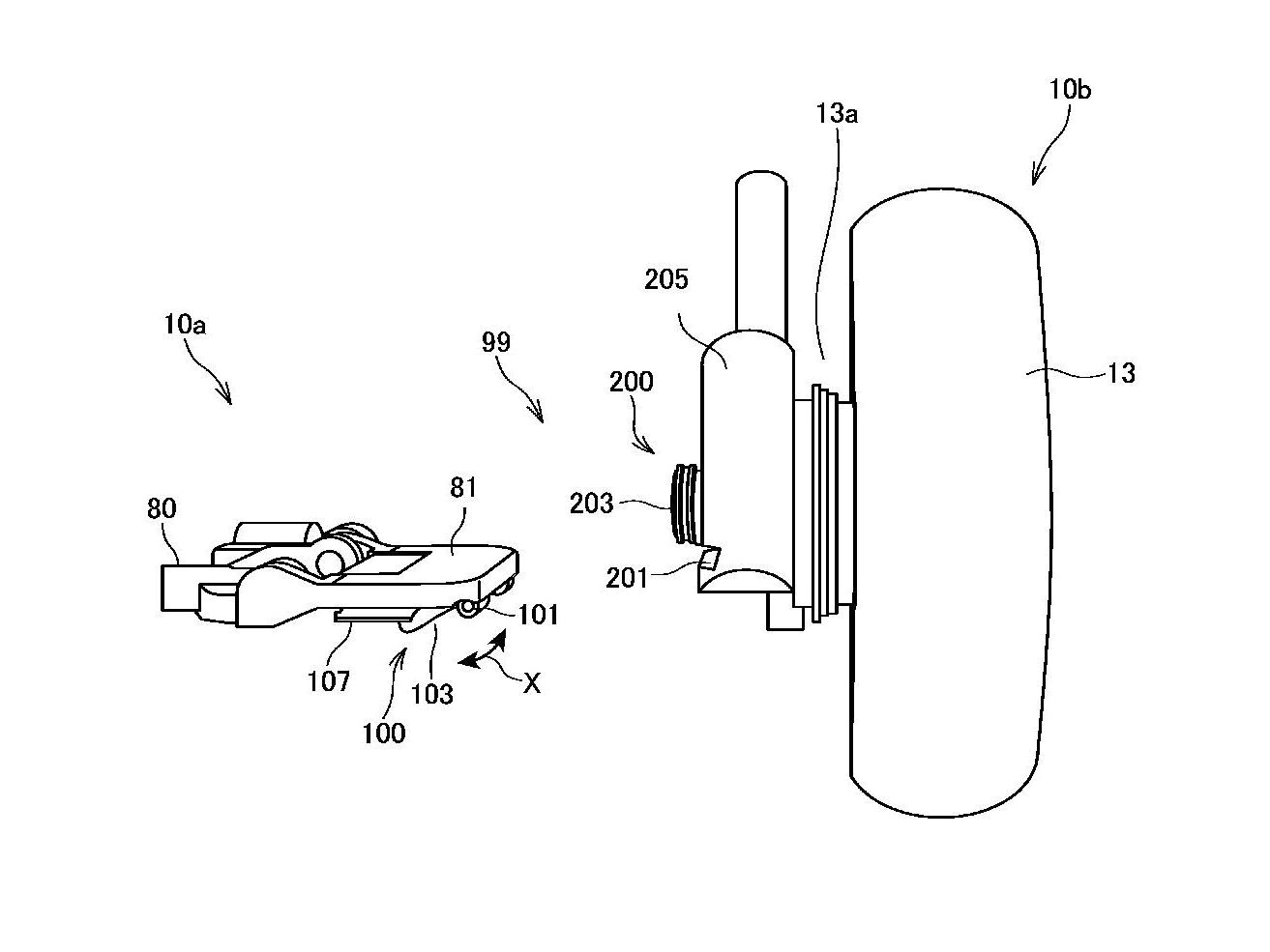
有別於一般的電動自行車,本田這次的專利劍指更加輕便可折疊自行車,也可以說是「電動小摺」,在HONDA提交得專利申請中,首先是包括可以摺疊的把手、座椅和車架,代表它更加便於寄送,而對於通勤族而言,藉由便利的收摺機構,能夠輕鬆的帶上公車或捷運,讓運輸效率大為提升;有趣的是,專利圖上可以看到電池包放置於可移動的坐墊下方,這表示電池是可拆卸的機構,這樣無論是更換備用電池,甚至是像PBGN這樣的換電模式都可能辦到,提升了多樣與便捷性。
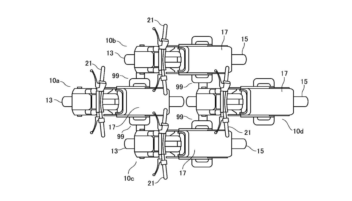
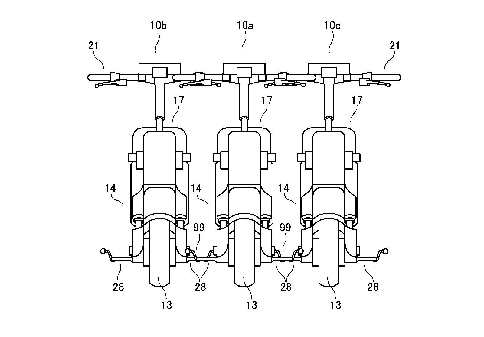
接下來的專利設計就更讓人耳目一新了,為了因應共享自行車的市場,本田發明了自行車的串聯機構,比起傳統共享單車或機車在更換或檢修的過程,必須採用貨車運送,HONDA的自行車串聯機構只需要一位工作人員操作;該機構的腳踏板,可以翻轉出來並連接到另一輛踏板車的前叉,並使用掛鉤球和榫接裝置確保牢固。在由四輛自行車連接成菱形圖案後,藉由精密的電腦計算動力分配下,只需要一位工作人員在前面的自行車上控制油門和轉向,其餘的車輛就能根據頭車的油門以及轉向達成同步工作,並在轉彎時改變它們的相對速度,如此一來,大幅降低共享自行車的調度成本,讓後勤工作更加便捷。
儘管這些專利短期內未必會實現,但卻提供了企業主們更多的想法與靈感,如今共享經濟已然成為了新興產業的一大看點,龐大的利潤連二輪界巨頭的HONDA都想分一杯羹,可見其重要性;如今多了HONDA的創新理念加持,也算是為產業注入了新的活水。




