YAMAHA對於電動車的研發長久以來曾停歇,從2013年所發表的PES1街車,到2015年發表的PES2運動型車款,每每發表總是能創造極高的話題,但風頭一過又如船過水無痕,而這樣的迴圈似乎有了鬆動的跡象;近日YAMAHA的一份專利申請遭到紕漏,除了詳細的闡述前驅動配置,也對其獨特的單避震前叉作動方式做出說明。
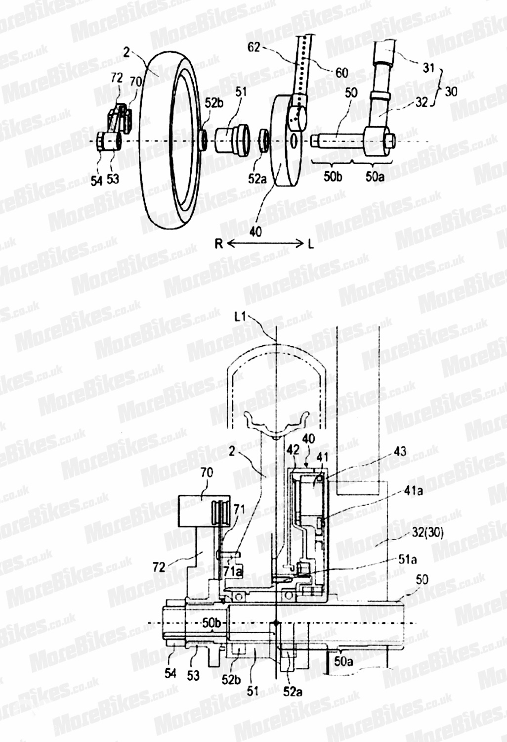
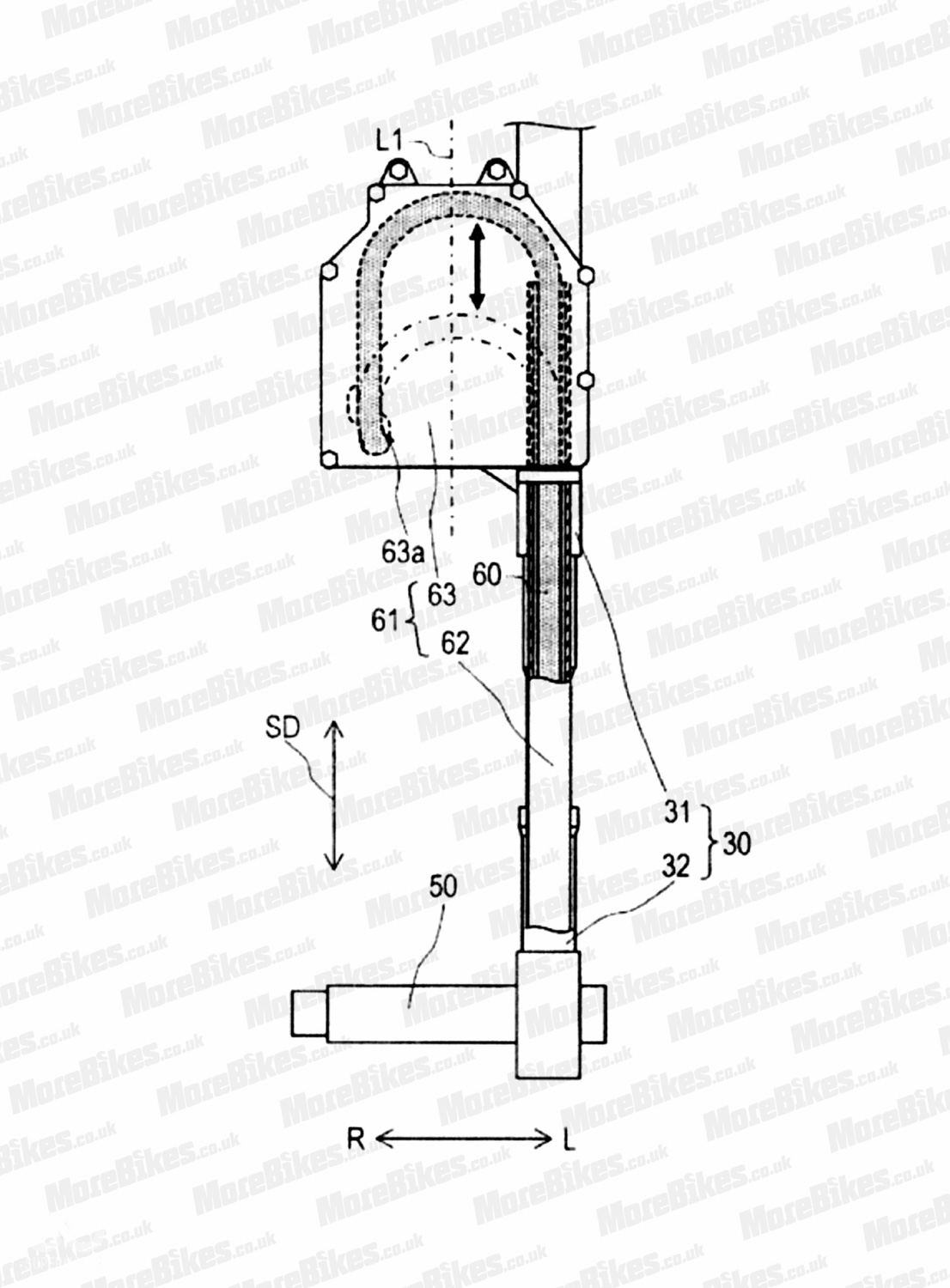
專利書中所繪製的車款結合了PES1與PES2兩者的車型特徵,在車型的設計上傾向於PES1的街車風格,車側的造型也是大同小異,但動力單元的配置與懸吊則是使用了PES2的元素,後輪動力採用傳統方式傳輸,並且在前輪鼓的部分加裝了一枚輪鼓式馬達,使其成為了少見的二驅設計,而懸吊方面後端使用中置多連桿的設計,前端就特殊許多,用的是類似Vespa的單槍設計。
在前懸吊部分與PES2概念車有些許不同,YAMAHA在專利書中加入了一組防甩頭,防甩頭直接固定上三角台與車架之間,主要是為了減緩單槍前懸吊遇到坑洞,或是操駕時單側的拉扯與扭動,提升車輛的穩定性與操控性。
目前YAMAHA的專利申請已經通過,但從種種的跡象看來,YAMAHA早就已經掌握了相關的技術,選在這樣的時間點發表,不免讓人與即將開幕的東京車展起了聯想,這是否預告著YAMAHA將在車展中展出新一代的電動車款呢?就讓我們拭目以待吧!
資料來源.morebikes by.Van










