CFMoto 最近提交了兩項專利,展示了一種全新的可調整車把與腳踏設計,這項創新讓騎士能夠透過一個按鈕來調整車把和腳踏的高度與位置,提升騎乘舒適度。
這項概念看似複雜,但根據Moto-Station的報導,CFMoto的設計圖示顯示,這項技術實際上相對簡單,且使用傳統的前叉與轉向頭設計,這意味著它有可能會應用在現有車型上,甚至能夠進行改裝。
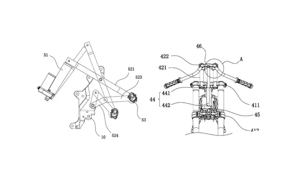
可調整車把與腳踏,提升騎乘靈活性
具體來說,CFMoto的設計中,車把是固定在一個浮動支架上,這個支架位於頂部搖臂上方,通過連接器與搖臂相連。當馬達驅動器作用於這個連接器時,車把就能調整位置。至於腳踏部分,則是透過180度旋轉來調整,實現上下、前後的變動,全部操作都可以輕鬆透過按鈕控制。
為何需要這項技術?
也許你會問,現在市面上已經有很多摩托車具備可調車把與腳踏設計,為什麼還需要這種新的技術?其實,市面上的許多可調系統往往需要拆卸車把和腳踏來進行調整,而且可調的範圍也相對較小。而CFMoto的系統,則能提供更大範圍的調整,並且重要的是,這些調整都能在行駛中,甚至是隨時按下按鈕就能完成。
想像一下,你已經騎著車參加了一整天的賽道日活動,長時間處於低姿態的競賽騎姿,這時你可能會希望換個比較舒服的姿勢,準備回家,CFMoto的這項系統,透過車輛的電子控制單元(ECU),可以根據當前騎乘模式,快速調整騎乘姿勢;例如,在公路模式下,車輛會調整成更直立、舒適的姿勢,而在運動模式下,則會保持更具侵略性的騎乘姿勢。
未來展望:技術或將改變騎乘體驗
雖然這項技術目前仍處於專利階段,距離實際上市還有一段距離,但正如Damon Motors曾展示的HyperSport概念車一樣,這樣的創新顯然吸引了不少製造商的關注,究竟CFMoto能否將這項技術帶上路,還需要進一步的觀察,畢竟這些專利也有可能僅僅是CFMoto工程師的"備份作業",用來防止其他競爭對手搶先實現這一想法。
無論如何,這項技術的發展無疑將讓未來的摩托車騎乘體驗更加多變與舒適,騎士們是否能夠在不久的將來體驗到這些創新設計,值得期待。







