CFMoto 去年在 EICMA 展出的 CF-X 電動越野車,看似概念實則量產在即。官方主打 400V 高壓架構,性能直指 450c.c. MX 對手,最新曝光的專利更揭露其內部熱管理系統採用類似 Ducati MotoE 廠車的雙冷卻路徑設計,科技規格遠超同級。這不只是台安靜的越野玩具,而是一台準備進軍競技場的電動猛獸。
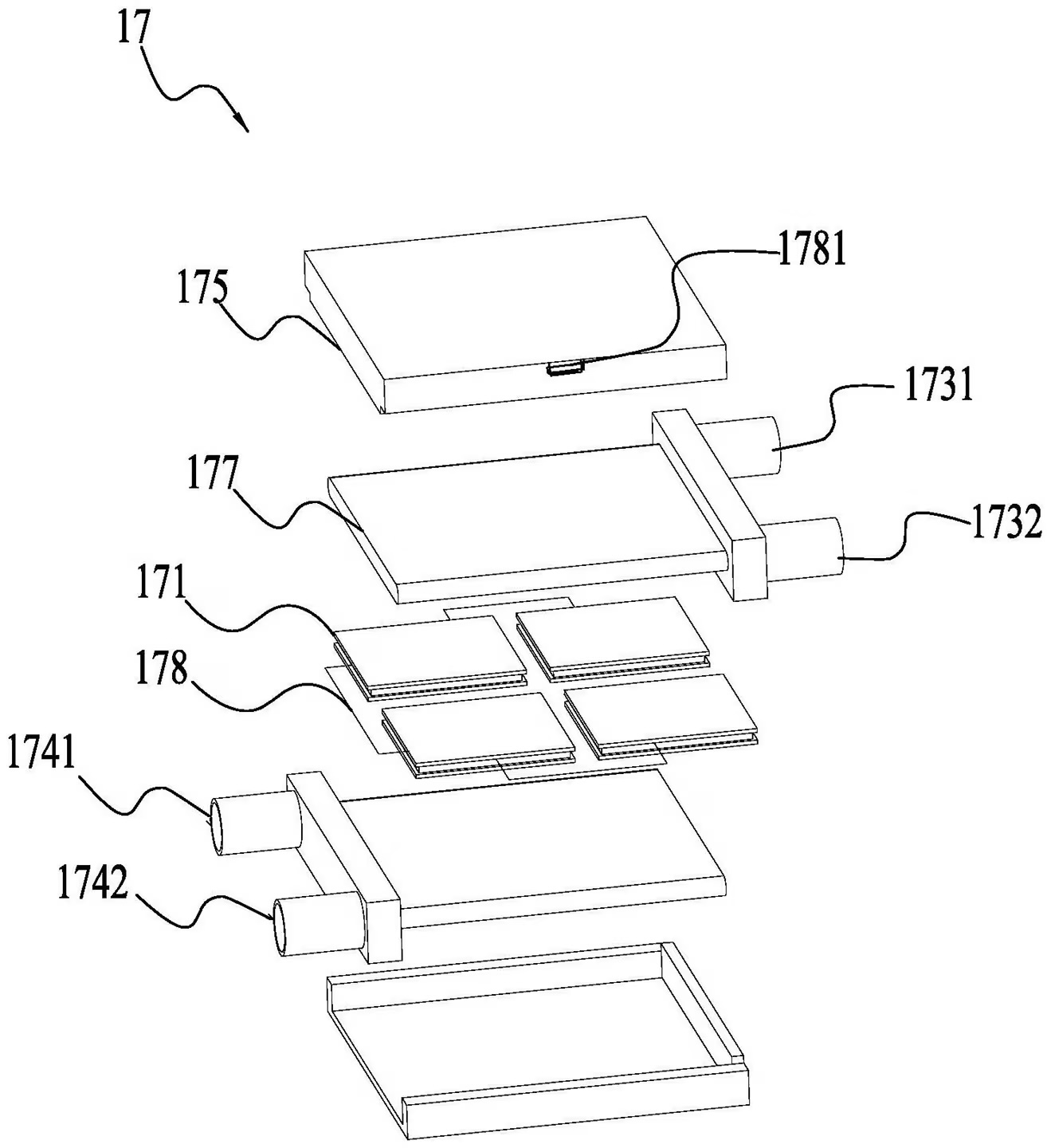
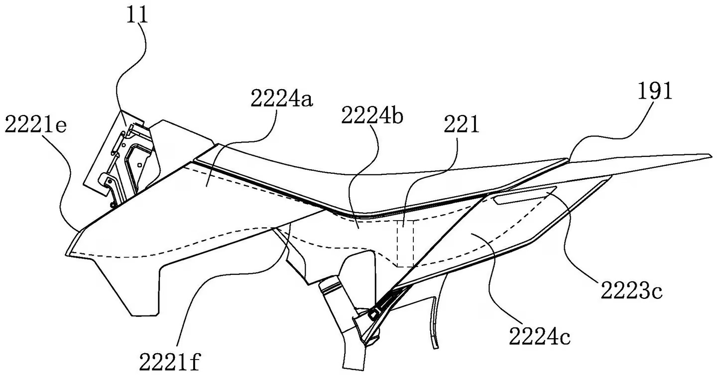
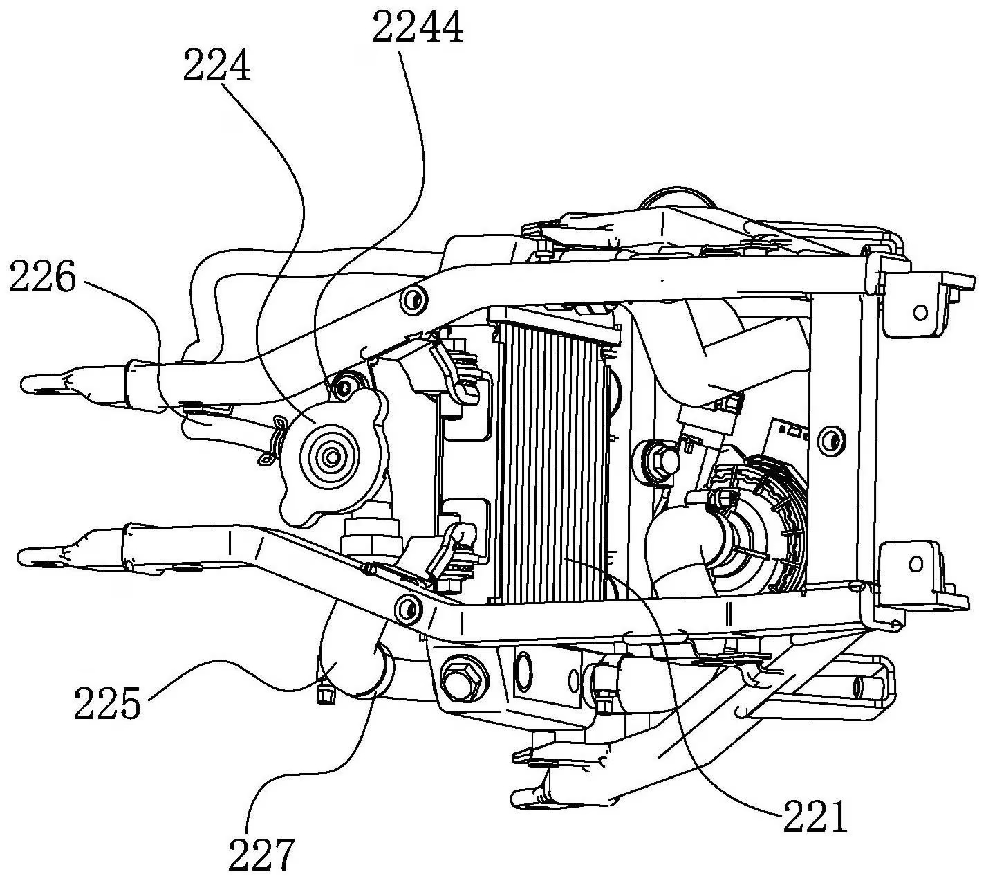
過往 Ducati MotoE V21L 賽車為了讓馬達與電池各自維持在最理想溫度,採雙水冷路徑搭配獨立水泵與散熱器。CF-X 則進一步精簡架構,只用一組散熱器,但透過 Peltier 熱電元件串聯兩路冷卻系統,能依照需求動態將熱能從馬達移至電池或反向操作,實現「雙溫控、一系統」的智慧平衡。搭配從車頭導氣、座墊下單排散熱器的布局,外型乾淨、效能卻不妥協。
雖然 CF-X 沒走可換電路線,但透過主動控溫系統預熱電池,可望支援高功率 DC 快充,達到如特斯拉般的快速充電效率。依照 CFMoto 向來「概念隔年變實車」的節奏,這台最可能挑戰越野車界電動化門檻的 CF-X,極有機會在 2025 EICMA 亮相市售版。下一波越野革命,可能就從這台開始。






