幫你自動閃避三寶?Honda 研發「自動轉向輔助」,盲點偵測結合自動轉向專利

幫你自動閃避三寶?Honda 研發「自動轉向輔助」,盲點偵測結合自動轉向專利
Webber 2025/12/19

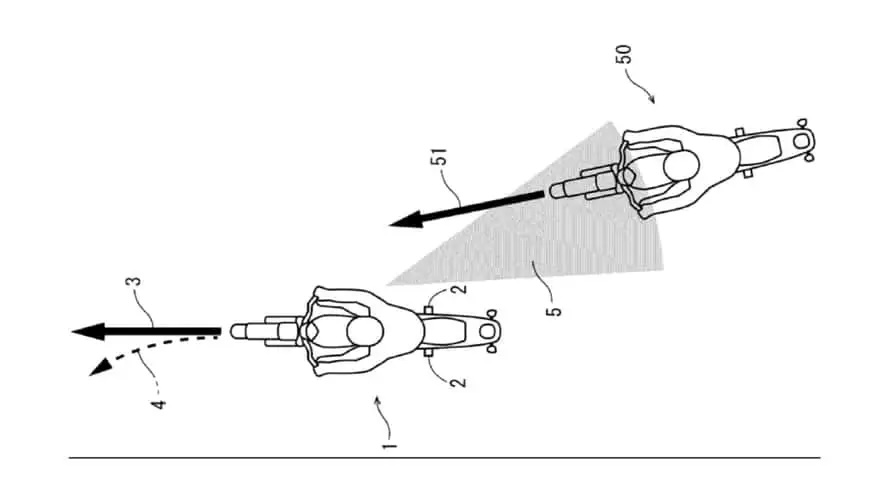
Honda 近期提交了一項全新專利,試圖將汽車界的「主動安全防護」移植到兩輪世界。這項技術利用攝影機監控盲點,當偵測到後方有車輛逼近且具碰撞風險時,系統會透過致動器介入龍頭轉向,主動幫你閃避危險。簡單來說:這台車會在緊急時刻「幫你轉彎」。

二輪版的緊急閃避輔助 這套系統的概念源自汽車的緊急轉向輔助,但 Honda 深知摩托車的動態比汽車複雜得多,龍頭的轉動直接牽動著平衡、傾角以及騎士的心理安定感。 因此,專利中特別強調了系統會偵測騎士當下的操作狀態:

騎士已有反應(如正在轉向、煞車): 系統會判斷你已察覺危險,此時會給予較強的轉向輔助,加速閃避。

騎士無反應: 系統會判斷你未察覺威脅,此時會以「漸進式」的方式增加轉向扭力,避免龍頭突然被扯動而嚇到騎士造成失控。

當然,BMW、Ducati 等大廠也都致力於雷達與輔助科技的研發,Honda 並非特例。這項專利最終是否會量產仍是未知數,即便推出,也多半會先應用在 Goldwing 或 Africa Twin 等旗艦休旅車款上。

Webber 資深編輯
感性大於理性的交通工具愛好者,對我來說,車帥不帥是一輛車能否吸引我的最高指標。對於老車、多功能車毫無抵抗力。