還記得去年 9 月發表的 2026 Ducati Panigale V4 R 嗎?這台頂級仿賽除了性能強悍,規格表上有個神秘的 「Ducati Racing Gearbox (DRG)」 更是引發熱議。近日外媒挖掘出的專利文件終於揭開了它的面紗,這套源自 MotoGP 的技術不僅結構意外簡單,未來更極有可能下放至一般市售車款!

為什麼要改用 N-1-2-3-4-5-6? 現行市售重機普遍採用 1-N-2-3-4-5-6 的換檔邏輯,但在激烈的賽道操駕中,要從二檔退入一檔過急彎時,這中間夾著的「空檔(N)」往往是車手的惡夢——不小心入空檔會導致失去引擎煞車與動力,甚至造成轉倒。 因此,Ducati 將 MotoGP 的 N-1-2-3-4-5-6 邏輯導入 V4 R(空檔在最底層,或是 GP 倒打的最上層)。這樣一來,車手可以無腦狂踩降檔到底就是一檔,完全杜絕誤入空檔的風險。
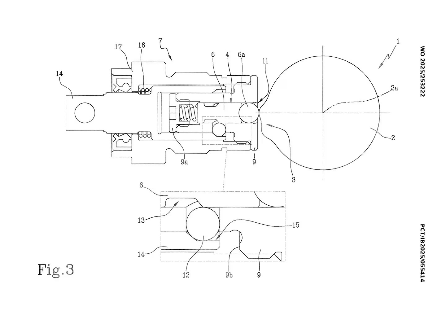
所以 Ducati 發明了一個聰明的門鎖(這就是專利圖裡的裝置),它的原理像這樣:
1. 平常騎車時:門是鎖死的(圖 2)
想像通往「空檔」的門被一個很粗的門栓(圖中的活塞 4) 擋住了。 為了怕門栓亂動,Ducati 用了幾顆小鋼珠(圖中的 12) 卡在門栓旁邊,把門栓死死頂住。 所以,不管你腳怎麼用力踩,那個門栓都退不回去,你也絕對進不了空檔。這保護你在賽車時只會停在 1 檔,非常安全!
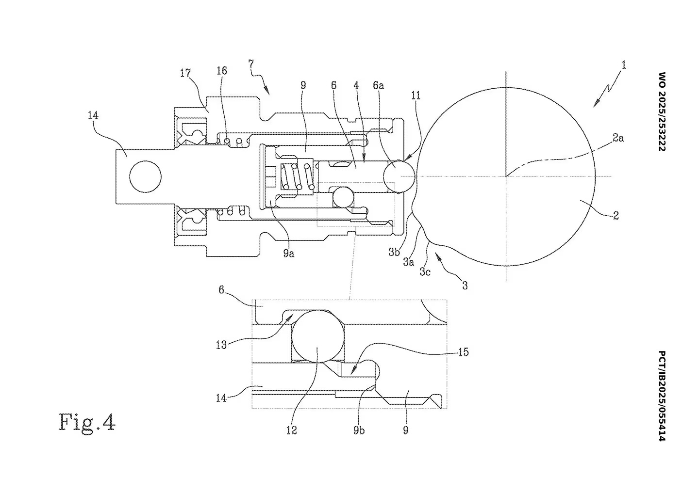
2. 要停車時:用拇指按「解鎖鍵」(圖 3 & 4)
那如果你真的要停車休息,想進空檔怎麼辦? 這時候,你的右手大拇指要去按一個特別的開關(拇指拉桿)。 這個動作就像是把外套(圖中的滑套 14) 拉開,讓原本卡住門栓的那幾顆小鋼珠有空間可以滾到旁邊去。 小鋼珠一走,門栓就可以動了!這時候你腳再輕輕一踩,就能順利把門打開,進入空檔休息。
結構超簡單,下放機率高 不同於人們對 MotoGP 黑科技「昂貴複雜」的印象,Ducati 這套 DNL 系統僅由約 12 個零件組成,透過簡單的凸輪、彈簧與滾珠鎖定機制運作,成本低且故障率低。 依照 Ducati 過往習慣將 R 版技術下放的傳統(如定風翼),這套能大幅提升賽道容錯率的變速系統,未來極有可能出現在標準版 Panigale 甚至是 Streetfighter 車系上。或許不久後,我們在路上騎 Ducati 停紅燈時,都要多一個「按讚」的動作才能入空檔了!







