隨著現代科技進步,機車的電控系統也逐漸從ABS、循跡控制慢慢進化到主動安全系統,在2020年底到2021年初,我們已經看到不少車廠在自家的車款上導入ACC主動定速巡航的功能,近日HONDA被外媒挖出一份專利圖,展現了未來HONDA可能會在GOLDWING上頭搭載更進階的轉向輔助系統,以實現車道維持的功能。
從近期曝光的多份專利圖來看,全球各大車廠無不積極發展主動安全系統,其中像是BMW、DUCATI和KTM已經搶先推出搭載ACC功能的車款進入市場,而HONDA、KAWASAKI甚至Harley-Davidson都有相關的專利註冊,除了ACC之外,下一個可能開始的新戰場,無疑就是轉向輔助系統的車道維持功能。
車道維持目前在汽車上已經逐漸成為主流搭載的安全配備之一,過去其實也有不少摩托車廠展示過類似的技術,像是YAMAHA的MotoBot和MOTOROiD、BMW的自動駕駛R 1200 GS等,這些原型測試車其實都具備轉向輔助控制系統,讓車輛得已實現無人自動操控的技術。
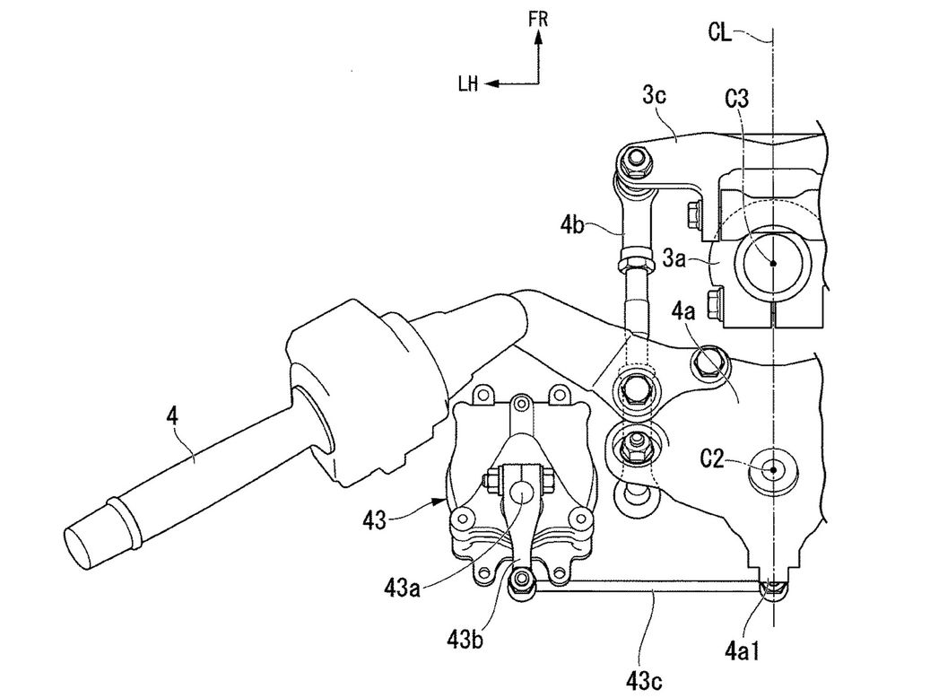
HONDA本次的專利也是瞄準類似的功能而來,從專利圖上能看到HONDA在握把內側加入電子轉向阻尼、高扭控制器和控制伺服器組成轉向輔助系統,當遇到緊急狀況時,轉向輔助系統能透過IMU偵測和電控系統的輔助判斷,並經由控制伺服器啟動高扭控制器來操作連桿介入車輛轉向。
除了在緊急狀況時介入輔助操控車輛之外,這套系統也能作為巡航時的車道維持功能使用,搭配上ACC主動車距控制的定速巡航,就能實現接近Level 2的半自動駕駛功能,對於主打長途旅行的GOLDWING來說,是再適合不過的誘人配備;另外,當騎士不需要轉向輔助系統,想專心享受騎乘操控樂趣時,這套裝置也能起到類似防甩頭的作用。
以目前的專利設計來看,這套轉向輔助系統會不會在下一次GOLDWING改款時與ACC系統一併登場還無法確定,不過能預期未來在這些大型巡航車款上,ACC與車道維持的便利組合絕對會降臨!






