HONDA近年熱衷於開發共構平台車款,近期除了剛在日本亮相的AFRICA TWIN雙生復古車HAWK 11之外,在500雙缸平台上HONDA也準備推出全新的復古車型CL500,近日有關CL500的專利圖也被外媒曝光,從目前的專利圖來看,這台CL500最快有機會在年底的大型車展上亮相。
從專利圖上來看,HONDA CL500應該會採用REBEL 500的車架來進行改造,並且重新打造副車台,讓整體外觀風格更接近Scrambler,此外後懸吊也將使用老味十足的雙槍後避震設計;此外,車頭部分則是搭載圓燈配長方形儀表,稍微可惜的是,和HAWK 11一樣CL500的油箱線條也受限於鋼管車架,並非採用經典的水滴型線條。
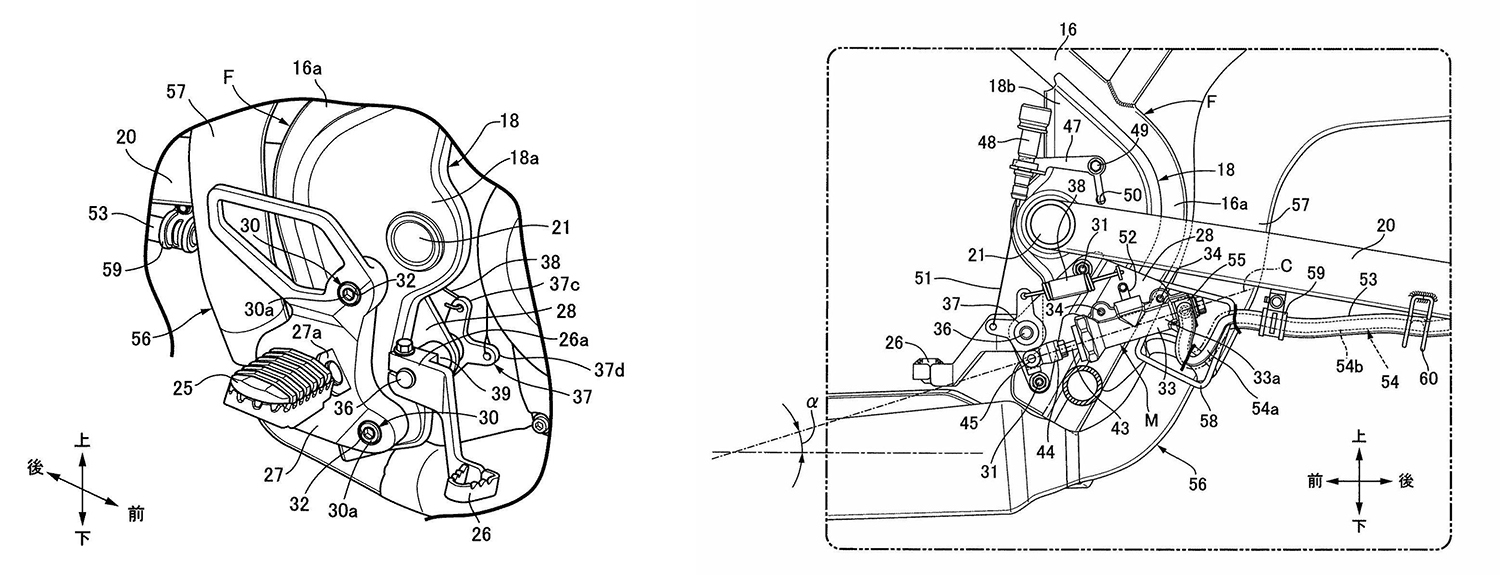
另外,在專利設計圖上也能看到,CL500在細節佈局上也花費不少心思調整,HONDA相當用心設計讓CL500在騎乘姿勢和外型風格上更符合Scrambler的樣式。
引擎部分則是大家熟悉的471c.c.並列雙缸引擎,擁有50hp @ 8,500 RPM的最大馬力和45Nm @ 6,500 RPM的最大扭力;前懸吊部分在2022年式的CBR500R上升級SHOWA 41mm SFF-BP倒立式前叉;另外煞車採用前296mm雙碟盤,NISSIN輻射式卡鉗和後240mm單碟盤,單活塞卡鉗,前後皆具備雙通道ABS。
此外,根據先前日本媒體的報導,除了CL500之外HONDA似乎也準備在250、300級距上推出CL車型,喜歡這類狂野Scrambler風格的車友可以好好期待一下囉!




