在MotoGP導入空氣力學套件的小翅膀技術之後,這項新科技已經成為近年車廠在市售車款下放頂尖技術的指標項目之一,特別是各大車廠旗下的性能旗艦仿賽、街車,都能看到凸出在車身之外的空力套件設計;近日YAMAHA更被外媒發現全新的越野車用空力套件,讓人驚嘆莫非就連越野車也要加入小翅膀了嗎?
其實YAMAHA在越野車上導入的空力設計並非如MotoGP或其他性能車款一樣,是為了增加車輛的車頭下壓力,而是為了解決越野車獨有的水箱散熱問題;傳統仿賽、街車在散熱水箱的設計上,都可以盡可能的家大面積來強化散熱表現,但對於使用環境特殊的越野車來說,如果把水箱放得太低、面積太大,很容易被越野路況上的小石子打傷或被噴滿泥巴,所以越野車大多使用分離/頂置式的水箱設計,來避免這類問題。
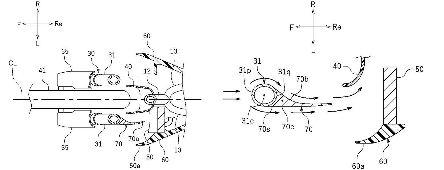
YAMAHA本次曝光的越野空力專利,就是針對越野車特殊的水箱位置,透過在前叉後方加入導流片的方式,來強化越野車的散熱效果,根據YAMAHA專利表示,新的導流片加入之後,除了可以增強散熱表現外,也期望能縮小水箱的尺寸,減少因為摔/倒車、跳石損傷水箱的機會。

