CFMoto 在大型巡航車市場持續發力,旗下的 1250TR-G 作為品牌旗艦長途旅行車款,擁有 1279cc V 型雙缸引擎,其動力源自 KTM 的 LC8 平台。近日,根據最新專利文件顯示,這款車型將迎來升級,新增電動倒車功能,這項技術已在豪華巡航車與大型旅行車款上越來越普及,能大幅提升騎士在低速狀態下的操控便利性。
專利曝光:起動馬達驅動倒車,結合電子控制系統
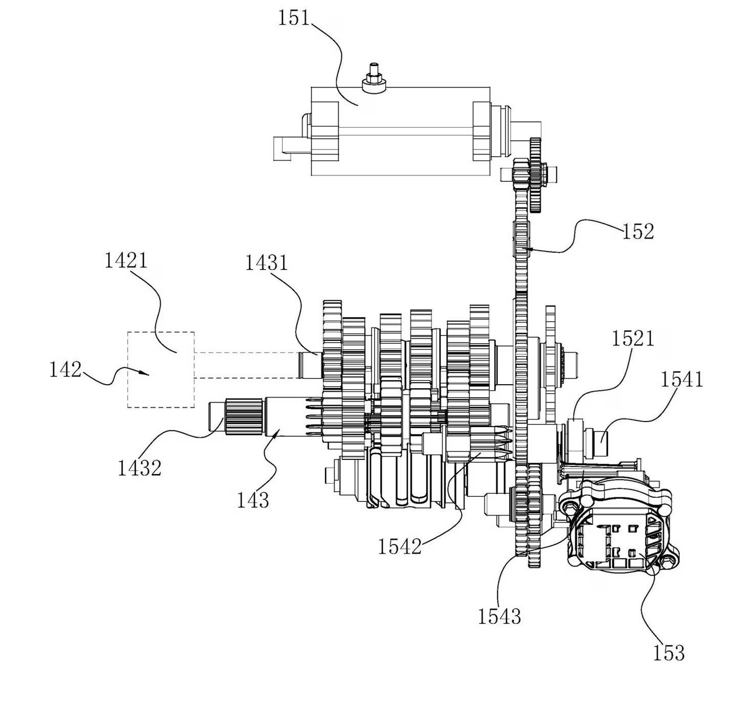
根據 CFMoto 提交的專利,1250TR-G 的電動倒車系統是透過起動馬達驅動,與多數高端旅跑車型採用的機制相似。起動馬達(151 號)位於 V 型引擎的夾角內,原本僅負責啟動引擎,如今透過額外齒輪機構(152 號)與電子作動器,可以在特定條件下讓摩托車倒退。
這套系統設計上相當安全,只有當變速箱處於空檔時,作動器才會允許倒車檔啟動,避免騎士誤操作導致危險。此外,啟動後的倒車功能將由車把上的專屬按鈕 操作,讓騎士能夠輕鬆控制車輛後移,不需要費力下車推動。
更進階的操控?可能支援低速前進模式
有趣的是,專利文件顯示該系統可能具備低速前進模式,這類技術已在 Honda GoldWing 等高階巡航車上應用,能讓騎士在狹窄空間或精細操作時更穩定地移動車輛。如果這項技術確實導入,CFMoto 1250TR-G 在操控層面將更接近歐美日系豪華巡航車款,進一步提升其高端市場競爭力。




