以 Yamaha Tracer 9 GT+ 打開摩托車雷達時代後,Yamaha 又帶來新突破:正在研發一套僅靠單顆前置攝影機的先進警示系統,徹底拋開雷達硬體,交由電腦智慧演算預測前方危險。
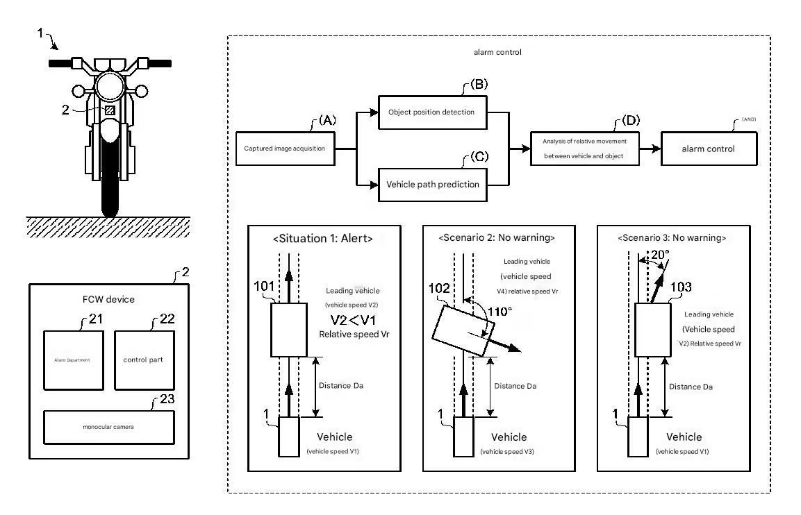
傳統汽車的先進駕駛輔助系統(ADAS)大多仰賴雷達監測車輛距離與速度,來觸發警報與主動介入煞車,但這樣的系統經常會出現誤報,像是前方慢車即將閃開卻依然觸發警示。而 Yamaha 的新設計則不同,它透過單一攝影機,結合車速、偏航率等感測資料,分析連續畫面中物體的移動趨勢,推算未來幾秒內的行進路徑,真正做到「看穿未來」來降低誤報。
Yamaha 的系統除了預測車輛行進外,還特別考量了摩托車的特性。它能根據傾角(而非汽車使用的方向盤角度)來推算行駛路線,舉例來說,在彎道中遇到前方慢車時,傳統雷達可能忽略這種「不在正前方」的障礙物,但 Yamaha 的新系統能精確預測兩者路徑即將交會,提前發出警告。
為什麼堅持用單攝影機?除了降低製造與安裝成本之外,摩托車本身空間有限,尤其是街車、仿賽車等設計簡潔的車型,根本沒辦法像汽車一樣塞入大型雷達或雙鏡頭模組。
有趣的是,目前也有部分汽車品牌如 Tesla,早早捨棄了雷達,改以「純攝影機」搭配 AI 影像辨識演算法實現類似功能。Tesla 的思路是,透過大量影像資料訓練 AI,讓車輛能像人類一樣,用雙眼去判斷距離與危險,並以軟體推進來取代硬體的複雜度與成本。這樣的趨勢,也讓 Yamaha 將類似邏輯套用到摩托車領域,推動輕量化、低成本的智慧防護系統。
當然,也有人認為過度依賴科技會讓駕駛反而失去警覺,但只要這類系統能夠有效篩除誤警,做到「必要時才介入」,它們將能真正成為騎士最無形卻最堅實的後盾。
未來,我們有機會看到更多摩托車搭載這種「不靠雷達」的智慧防護系統,讓騎乘更純粹、更安全,也更符合 Yamaha 所堅持的「騎士至上」理念。




