Aprilia 再次用行動證明,他們是目前 MotoGP 空力戰爭的技術領頭羊。由前 F1 空力高手 Marco De Luca 主導的設計,透過最新兩份專利文件正式揭露未曾在正式比賽中使用的兩項設計,背後目標不只是降低風阻,更是進一步強化地面吸附力與彎中穩定性。
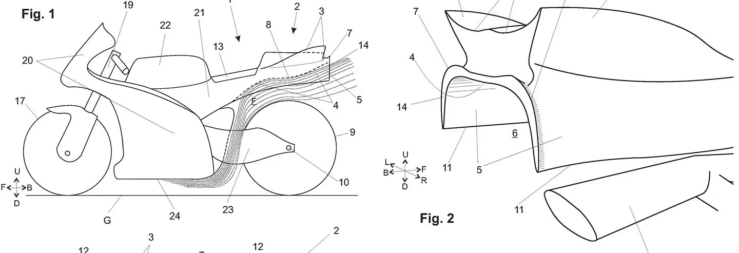
第一項設計,是搖臂兩側幾乎遮蔽整個後輪上方的特殊導流板,採傾斜機翼型設計。當賽車壓車到底、傾角最大時,接近地面的板件會產生強烈下壓力,同時提供朝彎心方向的水平推力,有效「幫輪胎壓得更緊」,直接提升彎中抓地力。不只如此,搖臂前方還搭配一個迷你小翼,當傾角達頂點時,與地面形成夾層加速氣流,創造類似賽車地面效應的「吸附效果」,讓車尾更穩、更黏地。
第二項設計則是大家在 RS-GP 上愈來愈熟悉的「座墊下氣流通道」,但這次 Aprilia 把它變得更像是 F1 擴散器。透過車底導氣與車尾上方鴨尾整合,形成一套空氣抽取結構,在高速與彎中能更有效穩定車身。而那個看似「沒什麼用」的尾殼內部,其實專利文檔也點出有預留裝置空間,可能就是 Ducati「沙拉盒」那類減震與電子設備的藏身處。
雖然這些設計目前尚未於正式比賽亮相,但 Aprilia 直接送出專利申請已透露一個訊息——這些東西不只會留在工廠賽車身上,很可能會延伸到下一台客製賽道專用車「XGP」之上,甚至進一步影響市售超跑未來空力走向。這場 MotoGP 空力戰,還沒到終點,但 Aprilia 顯然不打算慢下來。





