大家對於排氣管的印象,通常不外乎就是聲浪好不好聽、馬力能不能提升,或者驗車過不過得了吧?但對於那些整天在實驗室裡想破頭的工程師來說,排氣管排出的「氣」可是一股不容忽視的能量。最近 Yamaha 在日本申請了一系列超狂的專利,他們打算把排氣管變成某種「姿態控制噴嘴」,利用閥門改變廢氣流向來控制車身動態,這聽起來是不是很有鋼彈或者科幻電影的味道?
重點整理
Yamaha 申請全新排氣系統專利,利用內部閥門控制廢氣噴射方向。
防孤輪設計:透過高角度、小口徑排氣口產生推力,利用力矩抑制車頭浮舉。
過彎輔助設計:利用朝下的排氣口,在車身傾倒時提供指向彎心的推力。
此設計位於車身內部且利用廢氣動力,有望規避賽事對於主動式空力套件的嚴格限制。
雖然專利圖是以大家熟悉的 MT-07 作為示範車款,但各位車迷朋友千萬別誤會,這套系統顯然是為了那些分秒必爭的頂級仿賽,甚至是 MotoGP 廠車所準備的。這套系統的核心概念相當簡單粗暴,就是利用排氣管內部的蝴蝶閥來改變廢氣的路徑。想像一下,當你在直線衝刺需要最大馬力時,閥門全開讓排氣順暢;但當你需要抑制車頭浮起或是殺進彎道時,廢氣就會被導向特殊的噴嘴,產生反作用力來幫助車輛操控。
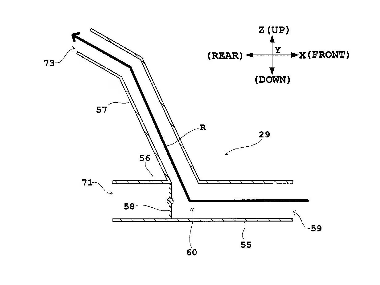
先來看看第一種「防孤輪」的設計。這套系統將尾段排氣管一分為二,下方是大口徑的主排氣口,負責釋放最大馬力;上方則是一根管徑較小、角度上揚的副排氣口。當車輛起步加速、前輪蠢蠢欲動想要「蓋棉被」的時候,系統會將廢氣導向那根小管子。
由於管徑變小,氣流流速加快,產生的推力就像一隻看不見的手推著車尾上方,利用後輪作為支點,透過槓桿原理把車頭「按」回地面。雖然這時候因為排氣回壓增加會損失一點動力,但反正你在孤輪的時候受限於循跡性也沒辦法油門全開,用一點馬力換取前輪著地,反而能讓你更早補油衝刺。
許多 MotoGP 和 WSBK 賽車(例如 Ducati Panigale V4)都已經採用高聳的座墊下排氣管設計,這本身就有助於重心配置。但 Yamaha 的想法更激進,他們不只是把管子做高,而是讓它變成可切換的功能性噴嘴。這在低速大補油門、動力受限於物理抓地力極限時特別有用;一旦車速拉高、空氣下壓力上來後,閥門就會切回原本的直通管,釋放引擎全部的怪力。
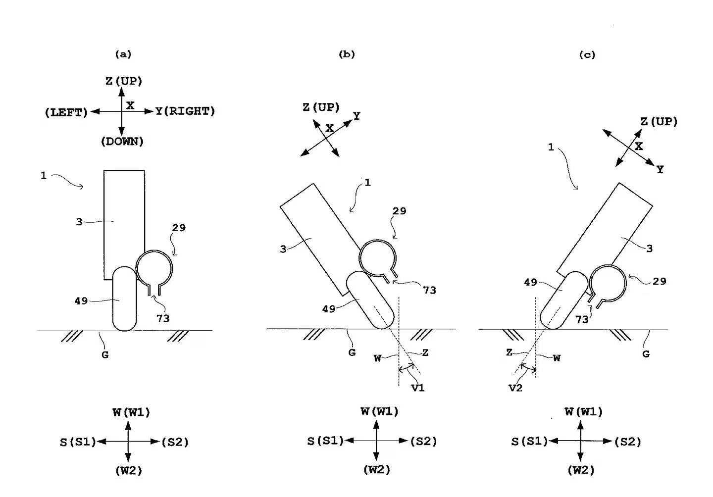
另一個設計則是針對「過彎性能」而來。這次的副排氣口改為垂直朝向地面,平常直線行駛時沒什麼用,但當車輛傾角達到極限(Full Lean)時,這根原本朝下的管子就會變成朝向彎道外側。這時候如果把廢氣導過去,產生的反作用力就會把車子推向彎道圓心。
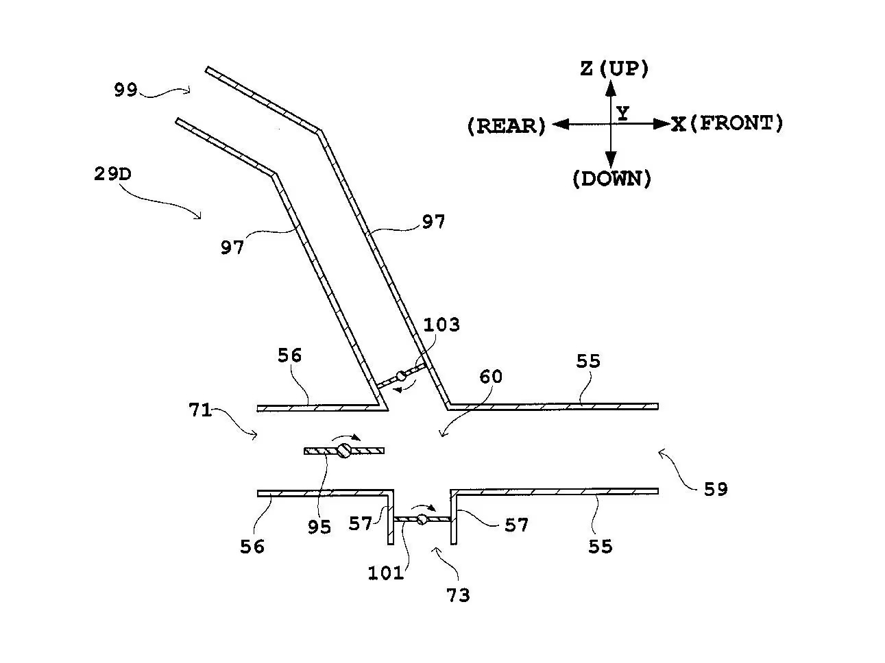
這聽起來有點像是太空船在調整軌道一樣,利用噴氣來改變車身動態。Yamaha 甚至還構想了更複雜的版本,具備左右兩個噴嘴,即便傾角沒那麼大,也能提供輔助轉向的推力。
當然,成年人不做選擇,Yamaha 的最終目標是把這兩套系統整合在一起,加上原本的主排氣口,變成一套「多合一」的超級排氣系統。雖然這些推力產生的 G 值可能微乎其微,但在 MotoGP 或 WSBK 這種千分之一秒定勝負的戰場,任何優勢都是關鍵。尤其現在賽事規則對於「主動式空力套件(可動翅膀)」抓得越來越嚴,這種藏在排氣管肚子裡、利用廢氣動力學而非外部空氣動力學的設計,很可能成為未來鑽規則漏洞、提升單圈成績的秘密武器。




