Kawasaki 最新專利揭露了一款「模組化」電動機車車架,試圖打破傳統造車限制,讓機車也能像汽車一樣「共用底盤平台」來搭載不同動力。
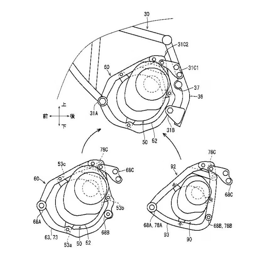
從專利圖可見,新設計與現行 Ninja e-1 最大的差異,在於馬達的固定方式。有別於將馬達直鎖於鋼管車架,新專利在主車架與馬達之間,加入了一組由上下兩件組成的「轉接副車架」。
這意味著,未來原廠只需更換這組小巧的轉接座,就能將不同尺寸與功率的電動馬達,完美鎖進同一套主車架中,不僅超級方便,還能順便強化車體結構的剛性。
這套模組化專利的最大優勢在於極大化「零件共用率」。透過單一主車架對應多款動力,能大幅降低研發與製造成本,有望解決目前電動機車「造價過高」的普及痛點,讓未來的純電重機售價更加親民。


