電動機車的世界快要迎來一位「義大利刺客」了!Ducati 最新申請的電動機車傳動系統專利,徹底揭露了這個來自波隆那的紅色惡魔,是如何思考「電動化」這件事的。別以為他們會做出一台滿足通勤族的無聊家電,光看這份專利的架構,就知道 Ducati 根本沒打算妥協。
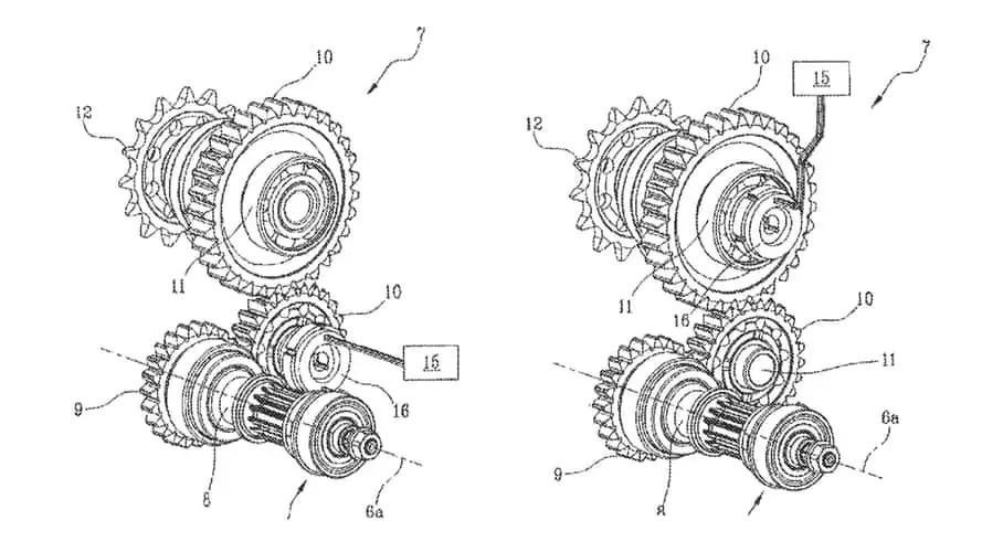
這項專利的核心架構,幾乎就是把 Ducati 的 ICE 哲學直接電動化:一具橫置電動馬達,最高轉速可達驚人的 18,500rpm,接著透過多段齒輪減速後,以傳統鏈條驅動後輪。整個動力傳遞邏輯與一般燃油重機如出一轍,只差在沒有活塞在裡面爆炸。更天才的是,Ducati 解決了電動機車最頭痛的「腰圍問題」:他們將本來安裝在馬達軸上的轉子位置感測器,移到了變速箱齒輪軸上,透過已知的齒輪比反算轉子位置。如此一來,馬達外殼可以做得更纖細,車身也能維持 Ducati 招牌的苗條身形與大仰角入彎能力。
變速箱的設計也別出心裁,採用多層平面堆疊方式(往高而非往寬發展),讓整體寬度降至最低。將這一切拼圖組合起來,你會發現這與 Ducati 在 MotoE 上使用的 V21L 賽車高度吻合——同樣的高轉速大輸出、同樣追求底盤感受的設計哲學。雖然這份專利並非確認新車發表時程,但可以確定的是:Ducati 不是在問「要不要做電動街跑」,而是在問「要怎麼做才不失去 Ducati 靈魂」。


