Honda在去年東京車展前夕發表了一系列概念車款,其中Neowing極具未來感如外星訪客般的外型獨領風騷,車展期間其高科技的配備與水平對臥四缸混合動力單元更是掀起一陣討論話題,但車展過後便沒了下文,Neowing的話題也如船過水無痕消失於檯面。
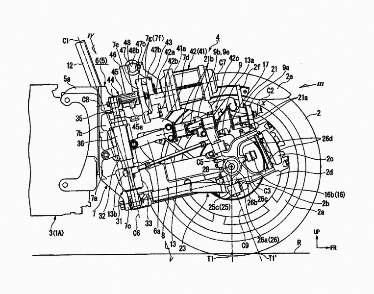
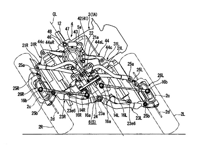
直至日前外媒截獲的一份專利申請書,讓原以為只能流於概念的Neowing看見了上市的一線生機,申請書夾雜於Africa Twin的風鏡造型專利中企圖掩人耳目,專利書中能看到非常詳細的前懸吊結構,轉向機、減震器甚至是卡前都清楚的呈現於圖面,但龐大的機構意味著車重並不輕,重量約會落在420kg,而這樣的車重也讓動力單元的選用有了變數,Neowing可能會放棄原設定的水平對臥四缸混合動力引擎,改用Goldwing排氣1,800c.c.水平對臥六缸引擎。

專利圖紙中能夠看到前輪懸吊各方面細節都已經相當完整,相信Honda已經掌握了相當的技術,至於是否會上市還是要回歸到市場,總歸Honda並沒有放棄Neowing的開發計畫,希望未來能有機會看到這台充滿科技味的次世代三輪車在街頭奔馳的英姿。
資料來源.Honda by.Van




