智慧安全帽在車圈中已是風行許久的名詞,不知道大家是否還記得2019年由SHOEI在CES展中推出帶有抬頭顯示器的安全帽概念,經過多年研發,近期,位於東京、大阪舉行的機車展中,SHOEI也正式為大家帶來這款名為OPTICSON的抬頭顯示器(HUD)系統。
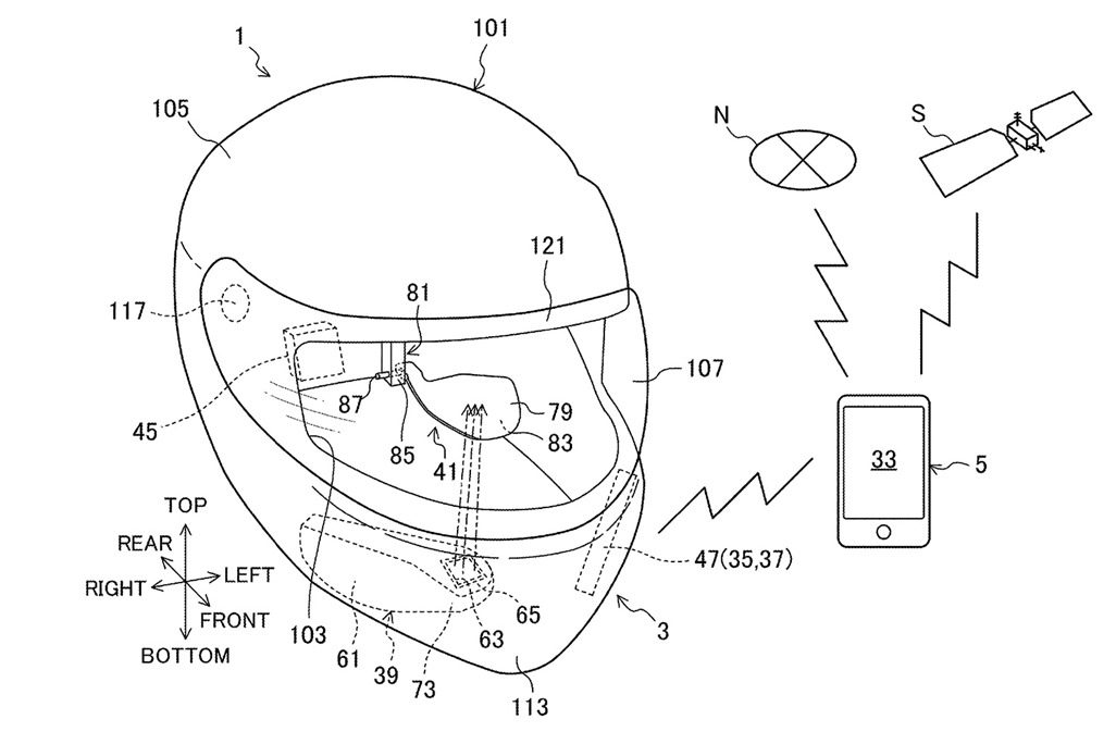
雖然系統名為OPTICSON,不過可以看到HUD抬頭顯示器依然維持當年的IT-LH架構,透過位於安全帽下巴處的投影主機將訊息投射至半透明鏡片,搭配Turn by turn的導航介面設計提供騎士簡單、乾淨的必要導航提示,此外,主要的GPS與導航等功能也將由手機APP進行運算,大幅減小底部主機體積並進一步減輕重量。
雖然有著日本安全帽大廠SHOEI的加持,但目前SHOEI也並未有此套HUD系統進一步相關的量產消息,個人認為,隨著各大車廠隨車導入藍芽連接手機與越來越多樣的儀表資訊來看,安全帽HUD產品似乎也顯得有些不實用,畢竟除了安全帽空間與供電問題外,騎士外出時安全帽的放置也將會是個課題,未來智慧安全帽究竟在市場上的反應會是如何相當令人好奇。



