十年前 Kawasaki 以 Ninja H2 把「Supercharged」三個字烙進所有車迷腦海,如今這場強制進氣戰爭正式進入新世代。繼 Honda 去年亮相、即將量產的 V3R 電動增壓概念之後,奧地利 KTM 也被發現提交了一系列全新專利,內容是一套 「電控+機械混合驅動」的增壓系統,簡單來說,它想把 Kawasaki 的機械增壓與 Honda 的電動增壓,直接合體成「最強混血」。
電+機械=兩全其美的增壓方案
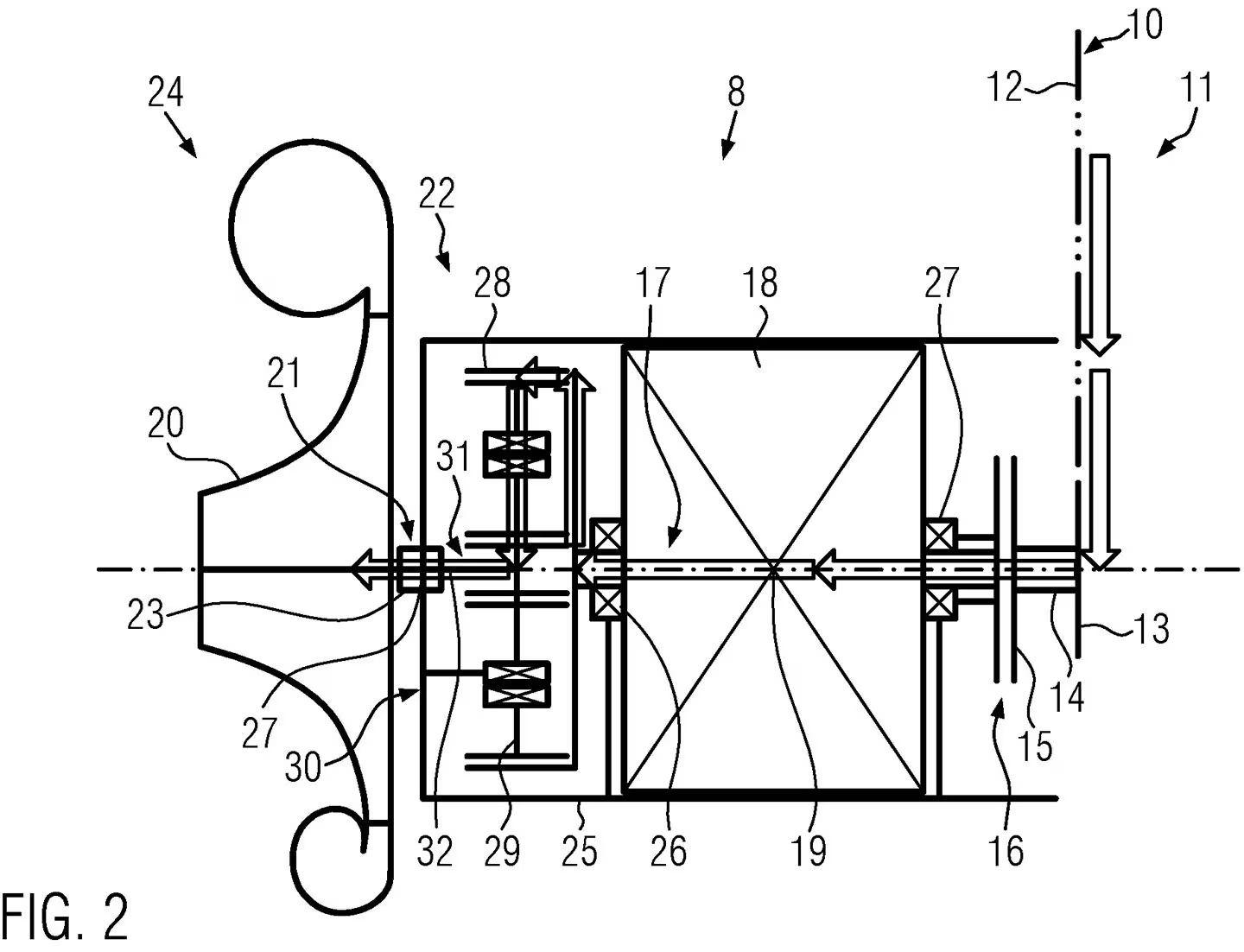
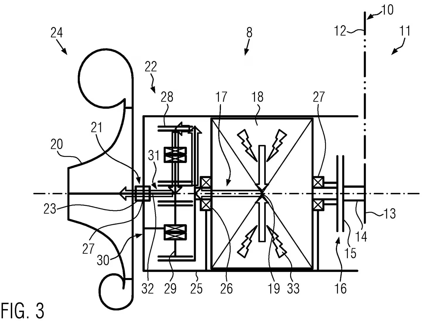
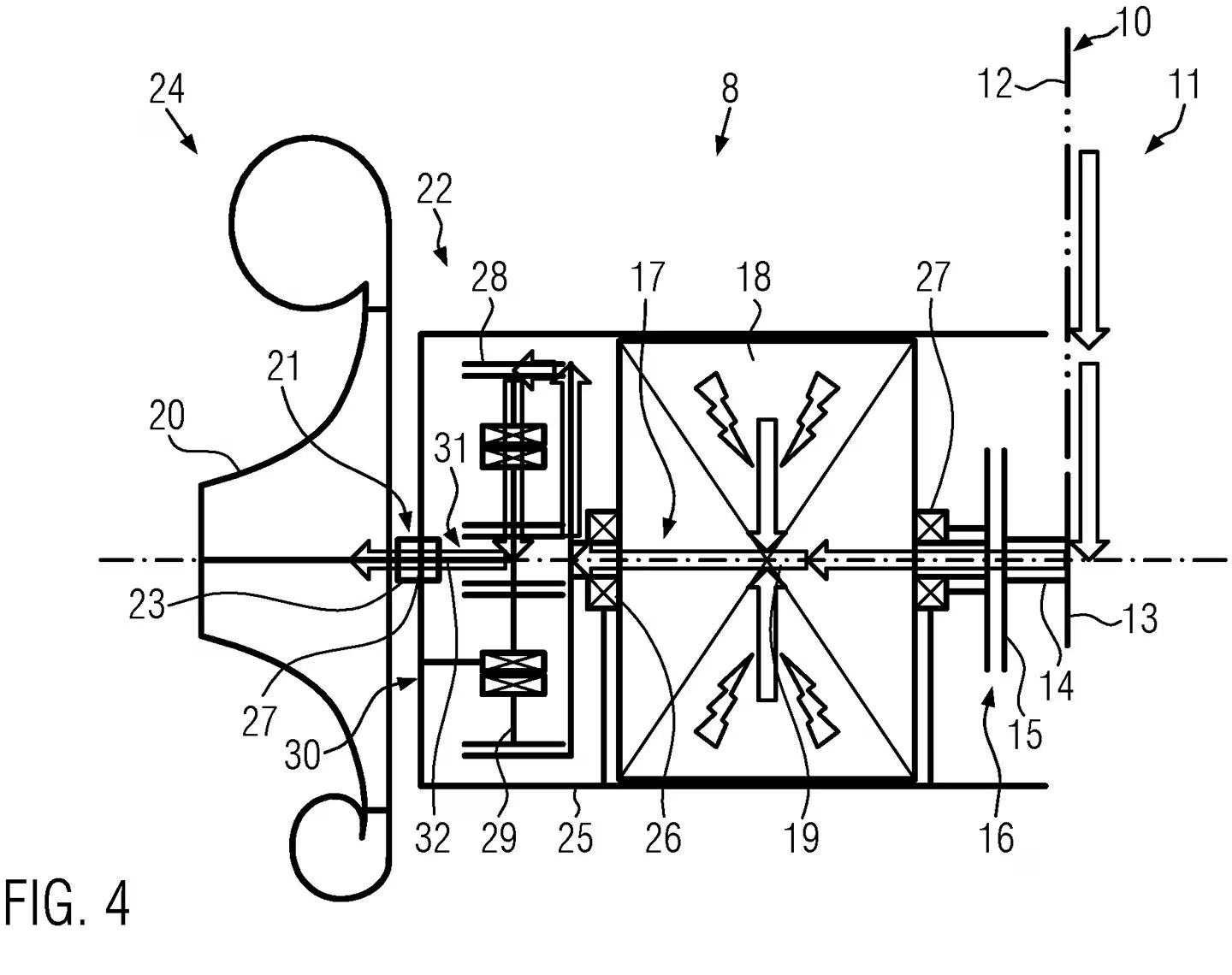
傳統機械增壓靠曲軸帶動,轉速跟引擎同步,低轉反應有限;純電增壓雖然解決遲滯,但需要大電池支援,笨重又耗能。KTM 的專利則在中間插入一顆 小型電控離合器,讓增壓器可在三種模式下切換:
低轉時:離合器分離,由電動馬達單獨驅動,馬上就能給你低轉扭力與即時油門反應。
高轉時:離合器結合,改由曲軸直接輸出,像傳統機械增壓般省電又穩定。
全力輸出時:電動馬達與曲軸同步工作,雙驅合力把壓縮機推到極限。
更聰明的是,當不需要全力輸出的時候,這顆電機還能反向當發電機,把能量回充電池,避免大容量電池拖累車重。
用 Enduro 越野車外型只是佯裝?
專利圖上畫的是單缸 Enduro 車型,但這只是示意,並不代表量產會鎖定該級距。KTM 強調這套混合增壓器可以套用在各種內燃機車型上,從單缸小鋼炮到 V 雙街車都有可能見到它的身影。
更有趣的是,專利文件提到將採用 捲流式壓縮機(Scroll Compressor),類似 VW 當年的 G-Lader,原因是成本更低、慣性小,更容易在低速下拉轉。
性能+環保的雙重解答
對 KTM 來說,這套設計不只是為了馬力,而是想兼顧 效能、低排放與可騎性。它避免了渦輪遲滯的缺點,又比純機械增壓在低轉更有力,同時還能降低對電池的依賴。換句話說,這是把性能與永續發展放進同一個方程式裡的答案。
如果 Kawasaki 是「機械增壓先行者」,Honda 是「電動增壓革新者」,那 KTM 現在就是「混血調和者」。這套混合增壓聽起來就像一顆技術核彈,如果真的上車,或許我們很快就會見到一台能同時滿足排放法規、卻又還能炸裂馬力的 KTM 新世代猛獸。下一步,就看 KTM 打算在哪款量產車上先丟這枚震撼彈。
 
                             
                                    








 
                                     
                                     
                                     
                                 
                                 
                                 
                                 
                                 
                                 
                                 
                                 
                                 
                         
                                 
                         
                                