2014年KAWASAKI H2R的誕生,打破兩輪車款在空氣力學車對身導流設計的舊有形態,也成為市售車中唯一搭載翼片的車款。但在當時大家的注意力集中在增壓帶來的狂暴動力,對於翼片的效果則存有質疑,更多人在心中把它歸類為裝飾性設計。
我們很清楚頂級賽事MotoGP是各廠最新銳跑車開發的試驗場與前哨站,就在最近兩年DUCATI廠隊的賽車漸漸將車身翼片成為標準配件,在去年2015世界冠軍Lorenzo的YAMAHA賽車上,也一度使用上翼片。由此可證明翼片導流技術是有效果,在經過這兩年的實戰考驗,似乎不論車廠或是一般騎士對於翼片或許還存有視覺上的不習慣,但也慢慢讓部份騎士試著接受著看似「跳脫傳統」的設計。
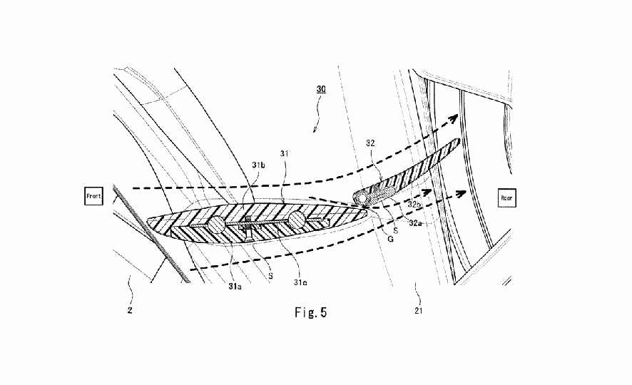
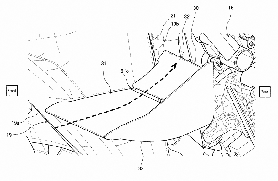
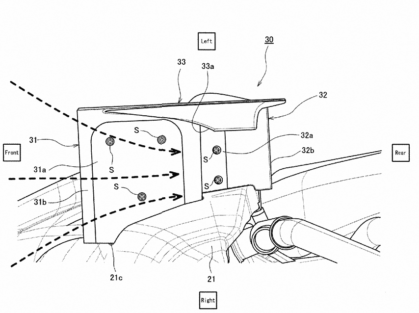
近日外媒找到了KAWASAKI 針對翼片所申請的專利報告書,大致的架構與H2R車身翼片相當,不過整體的尺寸更誇張。翼片的結構分為兩個區塊,分別處理在不同速度下所產生的空氣力學效應,低角度面積大的翼片(31)提供一般速度的下壓力效果,當速度提昇風壓更大時,氣流將會被導入上高角度面積小的翼片(32)使車輛產生更大的下壓力,進而增加輪胎抓地力與車身穩定度。
雖然這不能代表未來KAWASAKI一定會推出搭載翼片的全新車款,但對於車廠競爭來看,嗅到一些市場趨勢時能立即搶下專利權對於車輛發展絕對是利大於弊的,而身為消費著我們就持續觀察翼片在賽事中的影響,或許未來頂級跑車也可能掛著翅膀在路上奔馳。
資料來源.morebikes by.BEN





