在科技越來越進步的時代下,頂尖的運動車款始終都在追求著能讓駕駛追求最佳表現的駕駛科技,比方說起步控制系統、主動空氣力學配備(BMW積極研發中)等都是許多在頂尖機車賽事競爭的車廠積極研發的配備之一。為了可以更全面的協助車手操駕車輛,Yamaha將重點關注到了懸吊上面,他們最近向專利局申請的正是一個「防倒頭栽」主動式懸吊系統!
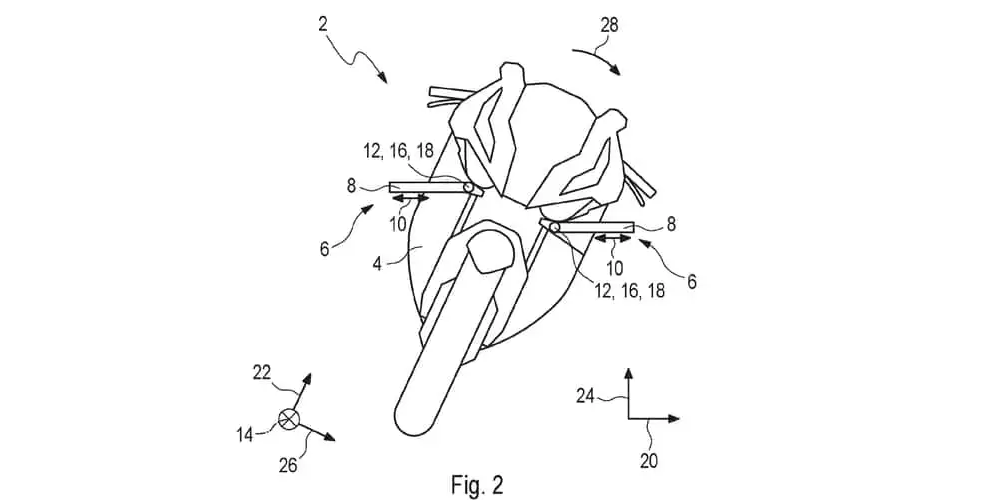
由於檔車的設計,採用拉桿設計的前煞相較於採用踏板設計的後煞是大多數駕駛較常使用的配備,甚至有些不熟悉檔車操控的駕駛可能會完全透過前煞的拉桿讓車輛進行煞停,對於緊急情況或是激烈操駕過程相當危險。Yamaha為了解決這個問題,他們打算將車輛的懸吊透過車上的電腦進行監控,如果駕駛採用太多前煞電腦將直接將懸吊調整成較軟的設定以減緩前叉的下沉幅度,避免車輛因為人為操作失誤而有「倒頭栽」的狀況發生。
雖然較軟的懸吊確實可以讓車輛達到更好的緩衝、減震效果;相對的,這對於透過激烈操駕以追求最佳單圈成績的車手來說卻是相當困擾的一件事情。這套主動式懸吊系統除了可以自動偵測煞車力道調整懸吊設定之外,車輛在加速過程中的阻尼也會透過電腦自行調整至當下最適合的設定。如果再仔細閱讀Yamaha申請的專利,可以明顯看出這套系統是針對運動街車和賽事用車打造而成的。
也就是說,未來我們有機會在頂尖賽事車款看到這項配備的出現,或許Yamaha會將他下放到R1、MT-09或是R6這些車款上也說不定。如果這項配備未來也應用在市售車款當中,雖然對新手來說是一大福音,畢竟可以減少事故發生的機會。但對於資深騎士來說,會不會是變相的在減少騎乘的樂趣,這也會是不少人關注的重點之一。



